ГОСТ Р 53635-2009 Газовые воздухонагреватели с принудительной конвекцией для отопления (обогрева) помещений теплопроизводительностью до 100 кВт. Общие технические требования и методы испытаний
ГОСТ Р
Скачать ГОСТ в PDF или DOC бесплатно
Основная информация
Обозначение:
ГОСТ Р 53635-2009
Статус:
Отменен
Тип:
ГОСТ Р
Название русское:
Газовые воздухонагреватели с принудительной конвекцией для отопления (обогрева) помещений теплопроизводительностью до 100 кВт. Общие технические требования и методы испытаний
Название английское:
Gas-fired air heaters with forced convection for firing (heating) rooms not exceeding a net heat input of 100 kW. General technical requirements and test methods
Даты и сроки
Дата издания:
02-22-11
Дата введения в действие:
01-01-11
Дата завершения срока действия:
04-01-22
Применение и описание
Область и условия применения:
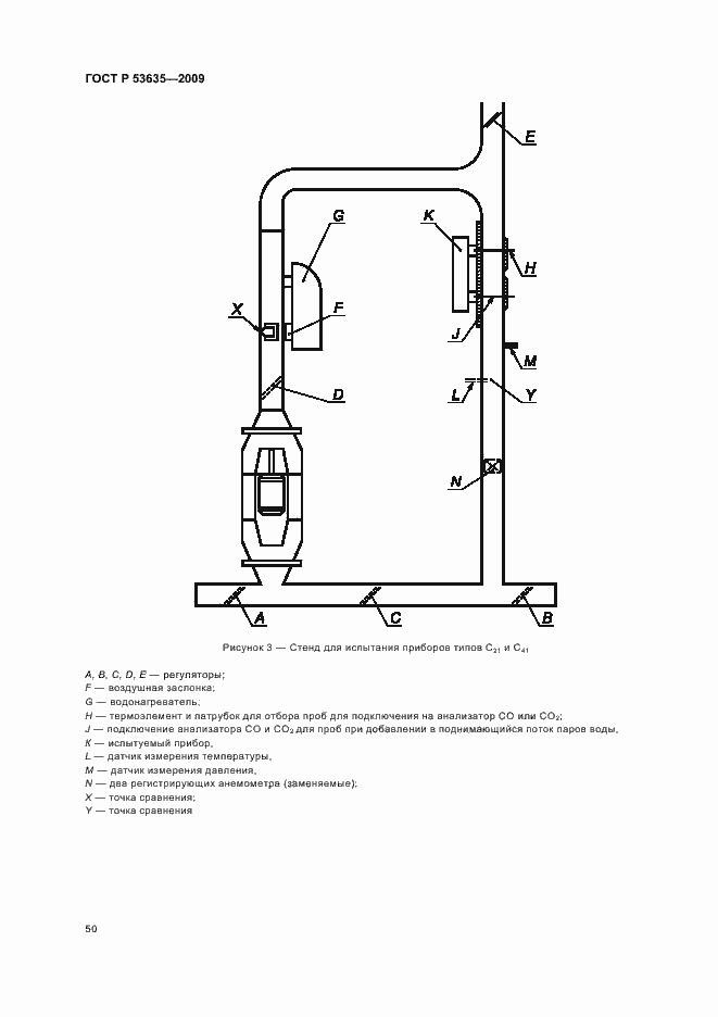
Настоящий стандарт устанавливает требования к безопасности, конструкции, характеристикам и методам испытаний газовых воздухонагревателей с принудительной конвекцией (генераторов теплого воздуха, использующих для обогрева воздуха сжигание газов), предназначенных для отопления жилых помещений, с одной или несколькими атмосферными горелками, с открытой или герметичной камерой сгорания без вентиляторов для подачи воздуха в зону горения и/или для удаления газообразных продуктов сгорания. Настоящий стандарт распространяется на приборы типов B11, B11AS, B11BS, C11, C21, C31 и C41 с номинальной тепловой мощностью не более 100 кВт, которые предназначены для использования в помещениях, состоящих, как правило, только из одной жилой комнаты. Теплообмен может осуществляться по воздуховодам. Настоящий стандарт не распространяется на следующие приборы: - приборы для установки на открытом воздухе; - комбинированные приборы в кондиционерах (для нагрева и охлаждения); - приборы, в которых воздух нагревается при помощи промежуточной жидкости; - приборы с горелками на искусственной тяге; - приборы с ручным или автоматическим устройством для настройки расхода подводимого в зону горения воздуха или отвода газообразных продуктов сгорания (включая заслонки дымоходов); - переносные или транспортируемые воздухонагреватели с принудительной конвекцией; - приборы с несколькими нагревательными элементами, оснащенные только одним стабилизатором тяги; - приборы, оснащенные более чем одним отводом газообразных продуктов сгорания; - приборы типов С21 и С41, эксплуатируемые с газами третьего семейств
Связи и замены
Заменяющий:
-
Описание стандарта
ГОСТ Р 53635-2009 Газовые воздухонагреватели с принудительной конвекцией для отопления (обогрева) помещений теплопроизводительностью до 100 кВт. Общие технические требования и методы испытаний
Страницы стандарта





































































