ГОСТ 27019-86 Материалы полимерные рулонные для полов. Ускоренный метод определения звукоизоляционных свойств
ГОСТ
Скачать ГОСТ в PDF или DOC бесплатно
Основная информация
Обозначение:
ГОСТ 27019-86
Статус:
Заменен
Тип:
ГОСТ
Название русское:
Материалы полимерные рулонные для полов. Ускоренный метод определения звукоизоляционных свойств
Название английское:
Rolled polymer materials for floors. Method of rapid determination of sound-insulation properties
Даты и сроки
Дата издания:
01-29-87
Дата введения в действие:
01-01-87
Дата завершения срока действия:
07-01-17
Применение и описание
Область и условия применения:
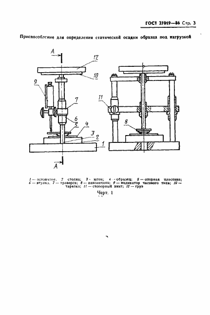
Настоящий стандарт распространяется на полимерные материалы для покрытия полов в помещениях жилых и общественных зданий, укладываемых непосредственно по несущей плите перекрытия, и устанавливает ускоренный метод определения звукоизоляционных свойств полимерных рулонных покрытий для полов
Связи и замены
Заменяющий:
ГОСТ 27019-2016
Описание стандарта
ГОСТ 27019-86 Материалы полимерные рулонные для полов. Ускоренный метод определения звукоизоляционных свойств
Страницы стандарта














