ГОСТ Р 51243-99 Бритвенные системы для влажного бритья. Общие технические условия
ГОСТ Р
Скачать ГОСТ в PDF или DOC бесплатно
Основная информация
Обозначение:
ГОСТ Р 51243-99
Статус:
Действует
Тип:
ГОСТ Р
Название русское:
Бритвенные системы для влажного бритья. Общие технические условия
Название английское:
Razor systems for damp shave. General specifications
Даты и сроки
Дата издания:
03-02-99
Дата введения в действие:
07-01-99
Дата завершения срока действия:
-
Применение и описание
Область и условия применения:
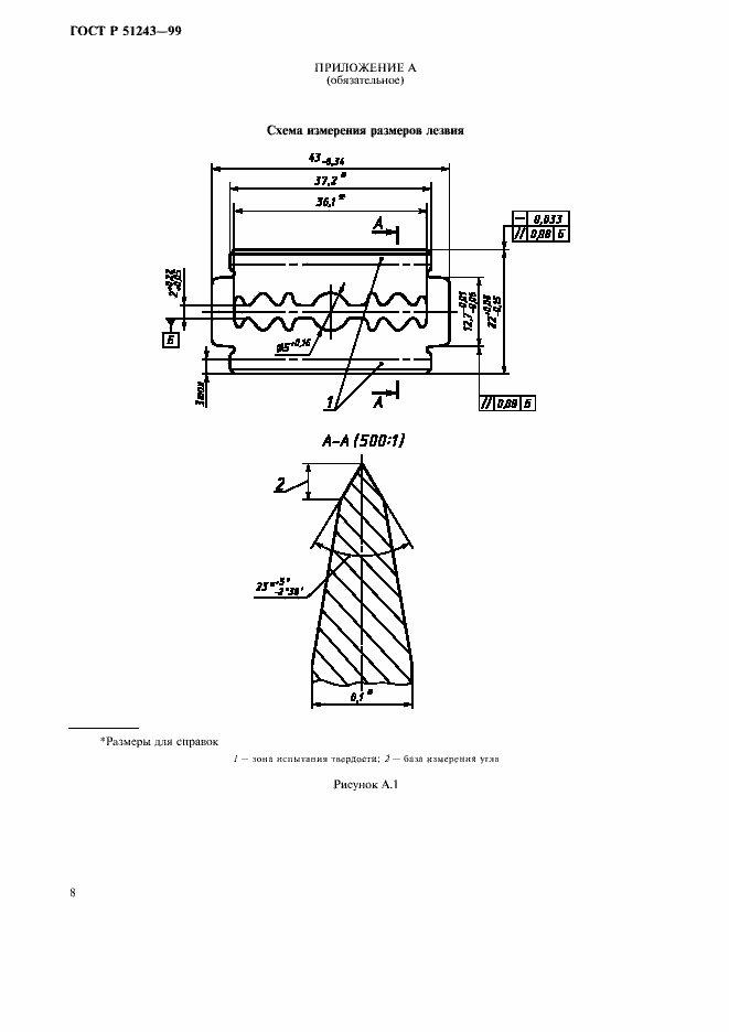
Настоящий стандарт распространяется на бритвенные системы для влажного бритья и их составные элементы ( аппараты для бритья, лезвия, кассеты), предназначенные для бритья лезвиями с одной или двумя бреющими сторонами или кассетами, и устанавливает требования к этим изделиям, правила и методы испытаний. Настоящий стандарт не распространяется на клинковые бритвы. Бритвенные системы и их составные элементы по климатическому исполнению должны соответствовать требованиям ГОСТ 15150 ( категория размещения 4.2). Конкретные требования должны быть установлены в нормативных документах на конкретные изделия
Связи и замены
Заменяющий:
-
Описание стандарта
ГОСТ Р 51243-99 Бритвенные системы для влажного бритья. Общие технические условия
Страницы стандарта











