ГОСТ Р 55515-2013 Оборудование надувное игровое. Требования безопасности при эксплуатации
ГОСТ Р
Скачать ГОСТ в PDF или DOC бесплатно
Основная информация
Обозначение:
ГОСТ Р 55515-2013
Статус:
Действует
Тип:
ГОСТ Р
Название русское:
Оборудование надувное игровое. Требования безопасности при эксплуатации
Название английское:
Inflatable play equipment. Safety requirements under operation
Даты и сроки
Дата издания:
04-02-14
Дата введения в действие:
01-01-14
Дата завершения срока действия:
-
Применение и описание
Область и условия применения:
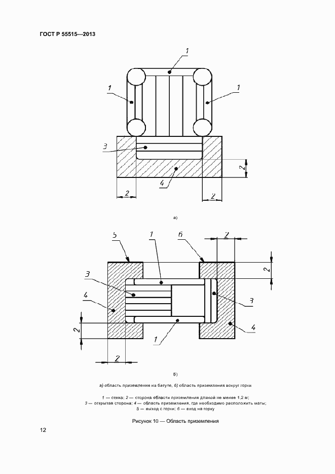
Настоящий стандарт распространяется на оборудование надувное игровое, разработанное и изготовленное в соответствии с требованиями ГОСТ Р 53487-2009
Связи и замены
Заменяющий:
-
Описание стандарта
ГОСТ Р 55515-2013 Оборудование надувное игровое. Требования безопасности при эксплуатации
Страницы стандарта






































