ГОСТ ISO 5355-2014 Обувь. Ботинки горнолыжные. Общие требования и методы испытаний
ГОСТ ИСО
Скачать ГОСТ в PDF или DOC бесплатно
Основная информация
Обозначение:
ГОСТ ISO 5355-2014
Статус:
Действует
Тип:
ГОСТ ИСО
Название русское:
Обувь. Ботинки горнолыжные. Общие требования и методы испытаний
Название английское:
Footwear. Alpine ski-boots. General requirements and methods of tests
Даты и сроки
Дата регистрации:
12-22-14
Дата издания:
03-03-15
Дата введения в действие:
01-01-16
Дата завершения срока действия:
-
Применение и описание
Область и условия применения:
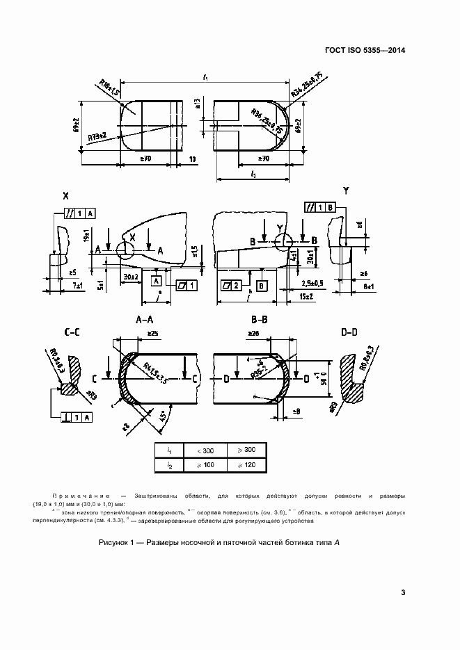
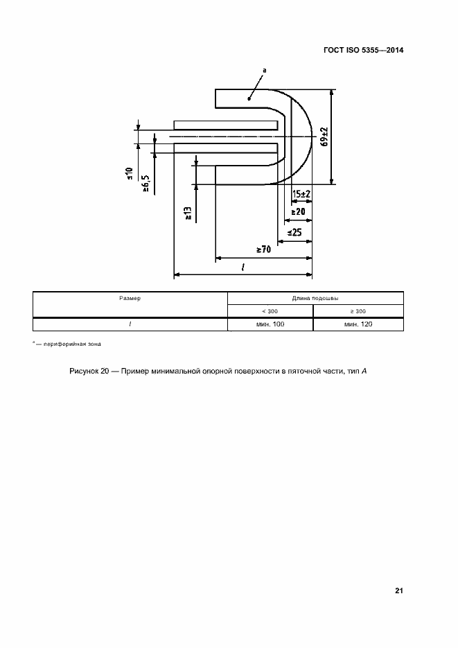
Настоящий стандарт устанавливает общие требования к лыжным ботинкам, используемым вместе с распространенными системами горнолыжных креплений путем присоединения к ним носка и пятки ботинка, определяет правила их маркировки и методы испытаний. Степень безопасности и надлежащее функционирование крепления при его размыкании зависит от размеров и конструкции контактной зоны подошвы ботинка. Для систем лыжных креплений, функционирование которых не зависит от формы подошвы или которые предъявляют особые требования к ее размерам, соответствие подошв лыжных ботинок требованиям настоящего стандарта для обеспечения необходимой степени безопасности не является обязательным. Настоящий стандарт распространяется на лыжные ботинки, начиная с размера 15,0 [типов А (для взрослых) и С (для детей)] по системе «Мондопойнт»
Связи и замены
Заменяющий:
-
Описание стандарта
ГОСТ ISO 5355-2014 Обувь. Ботинки горнолыжные. Общие требования и методы испытаний
Страницы стандарта


































