ГОСТы >
97.220.40 Инвентарь для спорта на открытом воздухе и для водных видов спорта >
ГОСТ Р 52909-2008
ГОСТ Р 52909-2008 Мишени для стендовой стрельбы и спортинга. Общие технические условия
ГОСТ Р
Скачать ГОСТ в PDF или DOC бесплатно
Основная информация
Обозначение:
ГОСТ Р 52909-2008
Статус:
Действует
Тип:
ГОСТ Р
Название русское:
Мишени для стендовой стрельбы и спортинга. Общие технические условия
Название английское:
Targets for stand shooting and sporting. General specifications
Даты и сроки
Дата издания:
07-07-08
Дата введения в действие:
07-01-08
Дата завершения срока действия:
-
Применение и описание
Область и условия применения:
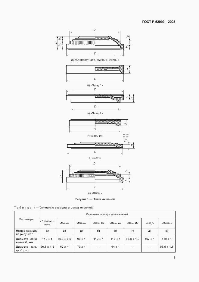
Настоящий стандарт распространяется на мишени, предназначенные для стендовой стрельбы и ее разновидности - спортинга, объединяющего все спортивно-охотничьи дисциплины - стрельбу по летящим по воздуху и движущимся по земле мишеням, имитирующим полет птиц и бег зверей
Связи и замены
Заменяющий:
-
Описание стандарта
ГОСТ Р 52909-2008 Мишени для стендовой стрельбы и спортинга. Общие технические условия
Страницы стандарта































Приложение №1: Изменение №1 к ГОСТ Р 52909-2008 Обозначение: Изменение №1 к ГОСТ Р 52909-2008 Дата введения в действие: 01.06.2020

Приложение №1: Изменение №1 к ГОСТ Р 52909-2008 Обозначение: Изменение №1 к ГОСТ Р 52909-2008 Дата введения в действие: 01.06.2020

Приложение №1: Изменение №1 к ГОСТ Р 52909-2008 Обозначение: Изменение №1 к ГОСТ Р 52909-2008 Дата введения в действие: 01.06.2020

Приложение №1: Изменение №1 к ГОСТ Р 52909-2008 Обозначение: Изменение №1 к ГОСТ Р 52909-2008 Дата введения в действие: 01.06.2020

Приложение №1: Изменение №1 к ГОСТ Р 52909-2008 Обозначение: Изменение №1 к ГОСТ Р 52909-2008 Дата введения в действие: 01.06.2020

Приложение №1: Изменение №1 к ГОСТ Р 52909-2008 Обозначение: Изменение №1 к ГОСТ Р 52909-2008 Дата введения в действие: 01.06.2020

Приложение №1: Изменение №1 к ГОСТ Р 52909-2008 Обозначение: Изменение №1 к ГОСТ Р 52909-2008 Дата введения в действие: 01.06.2020

Приложение №1: Изменение №1 к ГОСТ Р 52909-2008 Обозначение: Изменение №1 к ГОСТ Р 52909-2008 Дата введения в действие: 01.06.2020

Приложение №1: Изменение №1 к ГОСТ Р 52909-2008 Обозначение: Изменение №1 к ГОСТ Р 52909-2008 Дата введения в действие: 01.06.2020

Приложение №1: Изменение №1 к ГОСТ Р 52909-2008 Обозначение: Изменение №1 к ГОСТ Р 52909-2008 Дата введения в действие: 01.06.2020

Приложение №1: Изменение №1 к ГОСТ Р 52909-2008 Обозначение: Изменение №1 к ГОСТ Р 52909-2008 Дата введения в действие: 01.06.2020

Приложение №1: Изменение №1 к ГОСТ Р 52909-2008 Обозначение: Изменение №1 к ГОСТ Р 52909-2008 Дата введения в действие: 01.06.2020

Приложение №1: Изменение №1 к ГОСТ Р 52909-2008 Обозначение: Изменение №1 к ГОСТ Р 52909-2008 Дата введения в действие: 01.06.2020

Приложение №1: Изменение №1 к ГОСТ Р 52909-2008 Обозначение: Изменение №1 к ГОСТ Р 52909-2008 Дата введения в действие: 01.06.2020

Приложение №1: Изменение №1 к ГОСТ Р 52909-2008 Обозначение: Изменение №1 к ГОСТ Р 52909-2008 Дата введения в действие: 01.06.2020

Приложение №1: Изменение №1 к ГОСТ Р 52909-2008 Обозначение: Изменение №1 к ГОСТ Р 52909-2008 Дата введения в действие: 01.06.2020

Приложение №1: Изменение №1 к ГОСТ Р 52909-2008 Обозначение: Изменение №1 к ГОСТ Р 52909-2008 Дата введения в действие: 01.06.2020

Приложение №1: Изменение №1 к ГОСТ Р 52909-2008 Обозначение: Изменение №1 к ГОСТ Р 52909-2008 Дата введения в действие: 01.06.2020

Приложение №1: Изменение №1 к ГОСТ Р 52909-2008 Обозначение: Изменение №1 к ГОСТ Р 52909-2008 Дата введения в действие: 01.06.2020
