ГОСТы >
97.220.40 Инвентарь для спорта на открытом воздухе и для водных видов спорта >
ГОСТ Р 50530-93
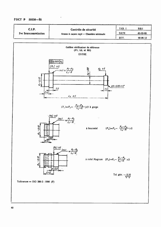
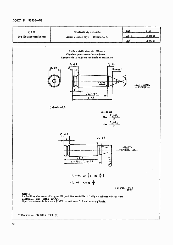
ГОСТ Р 50530-93 Патроны к ручному огнестрельному оружию, устройствам промышленного и специального назначения. Виды и методы контроля при сертификационных испытаниях на безопасность
ГОСТ Р
Скачать ГОСТ в PDF или DOC бесплатно
Основная информация
Обозначение:
ГОСТ Р 50530-93
Статус:
Заменен
Тип:
ГОСТ Р
Название русское:
Патроны к ручному огнестрельному оружию, устройствам промышленного и специального назначения. Виды и методы контроля при сертификационных испытаниях на безопасность
Название английское:
Cartridges for portable fire-arms, firing devices of industrial and trade special purposes. Types and methods of control during safety certificating tests
Даты и сроки
Дата издания:
06-05-95
Дата введения в действие:
06-30-93
Дата завершения срока действия:
01-01-10
Применение и описание
Область и условия применения:
Настоящий стандарт устанавливает виды и методы контроля патронов к ручному огнестрельному оружию, устройствам промышленного и специального назначения (далее патронов) при сертификационных испытаниях на безопасность в соответствии с нормативными документами Постоянной международной комиссии (ПМК) Брюссельской конвенции по взаимному признанию испытательных клейм ручного огнестрельного оружия. Стандарт не распространяется на патроны к оружию, используемому в наземных, морских и воздушных вооруженных силах: - испытательные патроны, снаряженные и непосредственно используемые Государственной испытательной станцией ГИС); - испытательные патроны, проданные изготовителем ГИС, минуя посредников; - экспериментальные патроны новых типов, которые находятся в стадии разработки и которые могут быть поставлены в небольших количествах для апробации различными пользователями, не входящими в персонал изготовителя; - патроны, изготовленные или повторно снаряженные в небольших количествах для личного пользования; - патроны, на которые Заявитель имеет сертификат соответствия, выданный испытательной станцией страны-члена Брюссельской конвенции
Связи и замены
Заменяющий:
ГОСТ Р 50530-2007
Описание стандарта
ГОСТ Р 50530-93 Патроны к ручному огнестрельному оружию, устройствам промышленного и специального назначения. Виды и методы контроля при сертификационных испытаниях на безопасность
Страницы стандарта
























































































