ГОСТ Р 59393-2021 Экипировка защитная для контактных видов единоборств. Технические требования и методы испытаний защитной экипировки для верхней части туловища
ГОСТ Р
Скачать ГОСТ в PDF или DOC бесплатно
Основная информация
Обозначение:
ГОСТ Р 59393-2021
Статус:
Действует
Тип:
ГОСТ Р
Название русское:
Экипировка защитная для контактных видов единоборств. Технические требования и методы испытаний защитной экипировки для верхней части туловища
Название английское:
Protective equipment for martial arts. Technical requirements and test methods for trunk protectors
Даты и сроки
Дата издания:
03-25-21
Дата введения в действие:
05-01-21
Дата завершения срока действия:
-
Применение и описание
Область и условия применения:
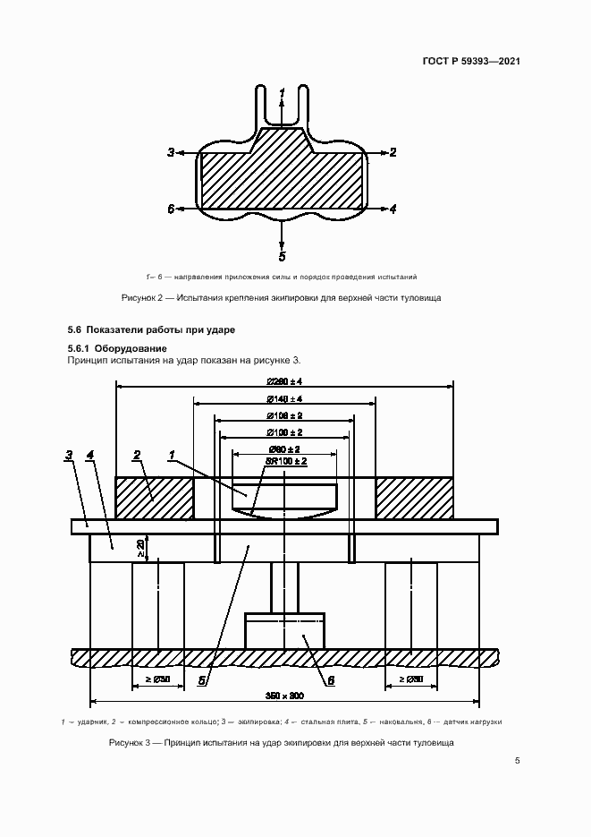
Настоящий стандарт устанавливает технические требования и методы испытаний защитной экипировки для верхней части туловища (далее – экипировка), которую применяют в спортивных единоборствах без оружия, таких как бокс, для защиты от травм при нанесении ударов по людям или тренировочному оборудованию
Связи и замены
Заменяющий:
-
Описание стандарта
ГОСТ Р 59393-2021 Экипировка защитная для контактных видов единоборств. Технические требования и методы испытаний защитной экипировки для верхней части туловища
Страницы стандарта










