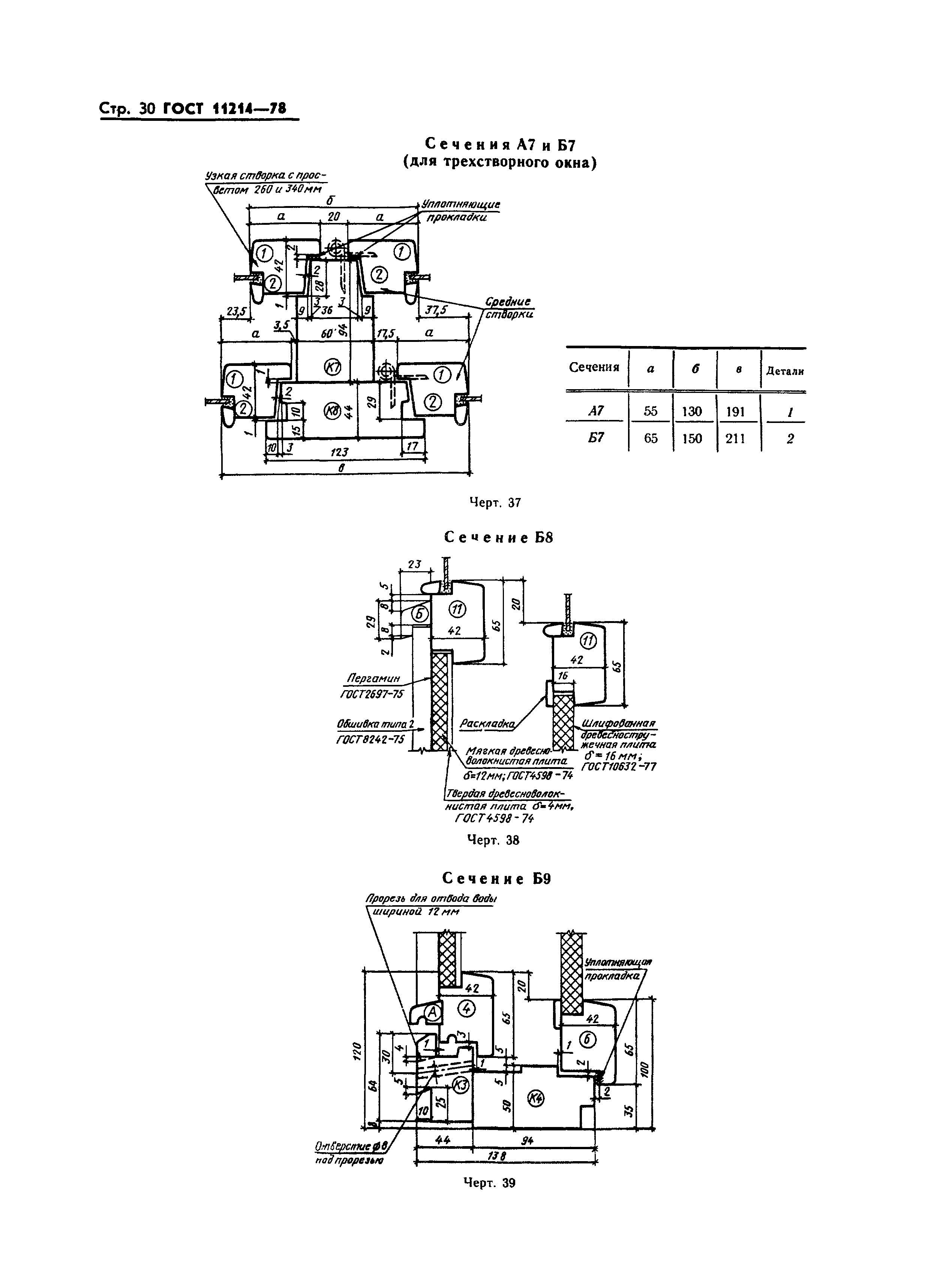
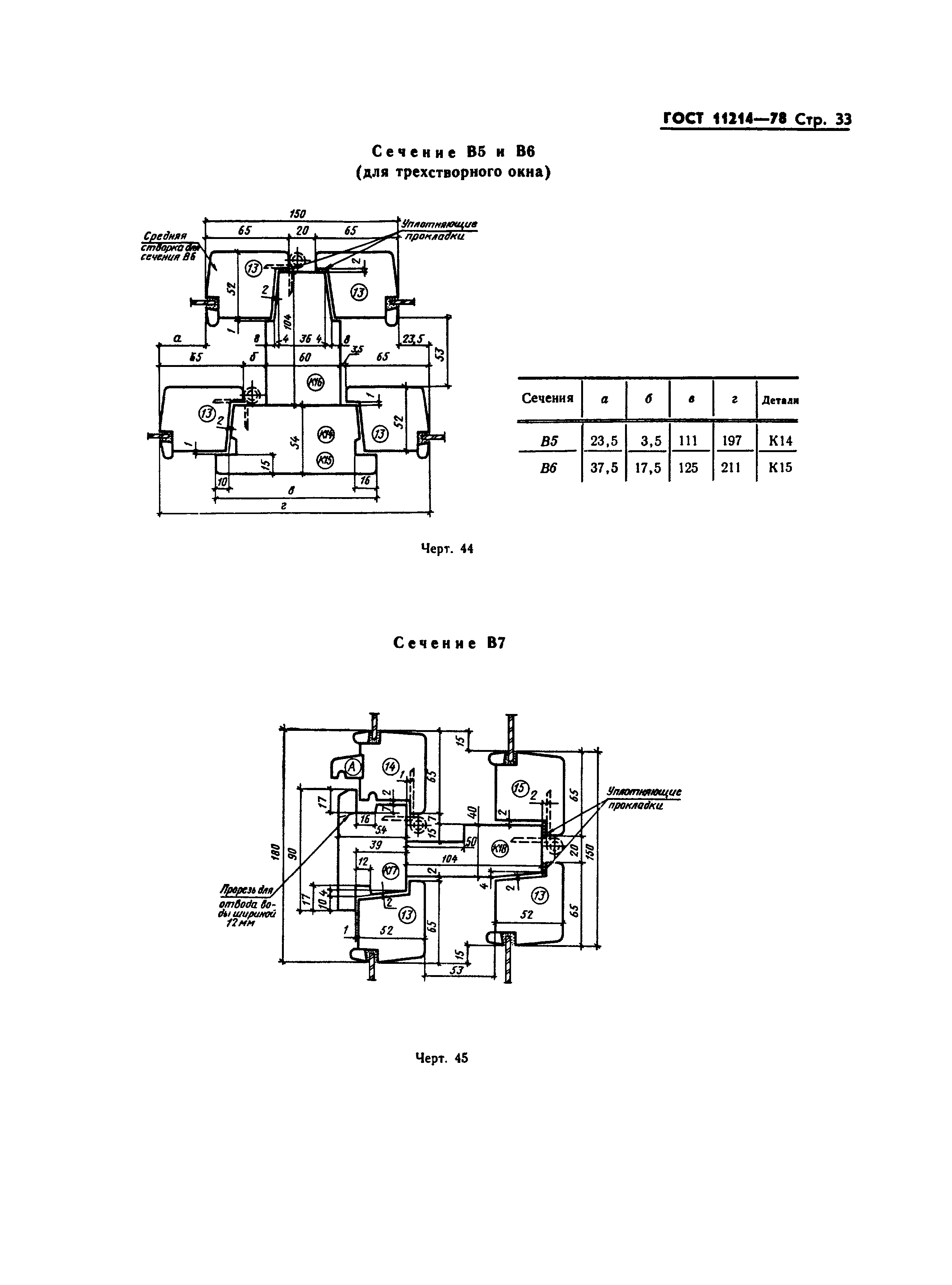
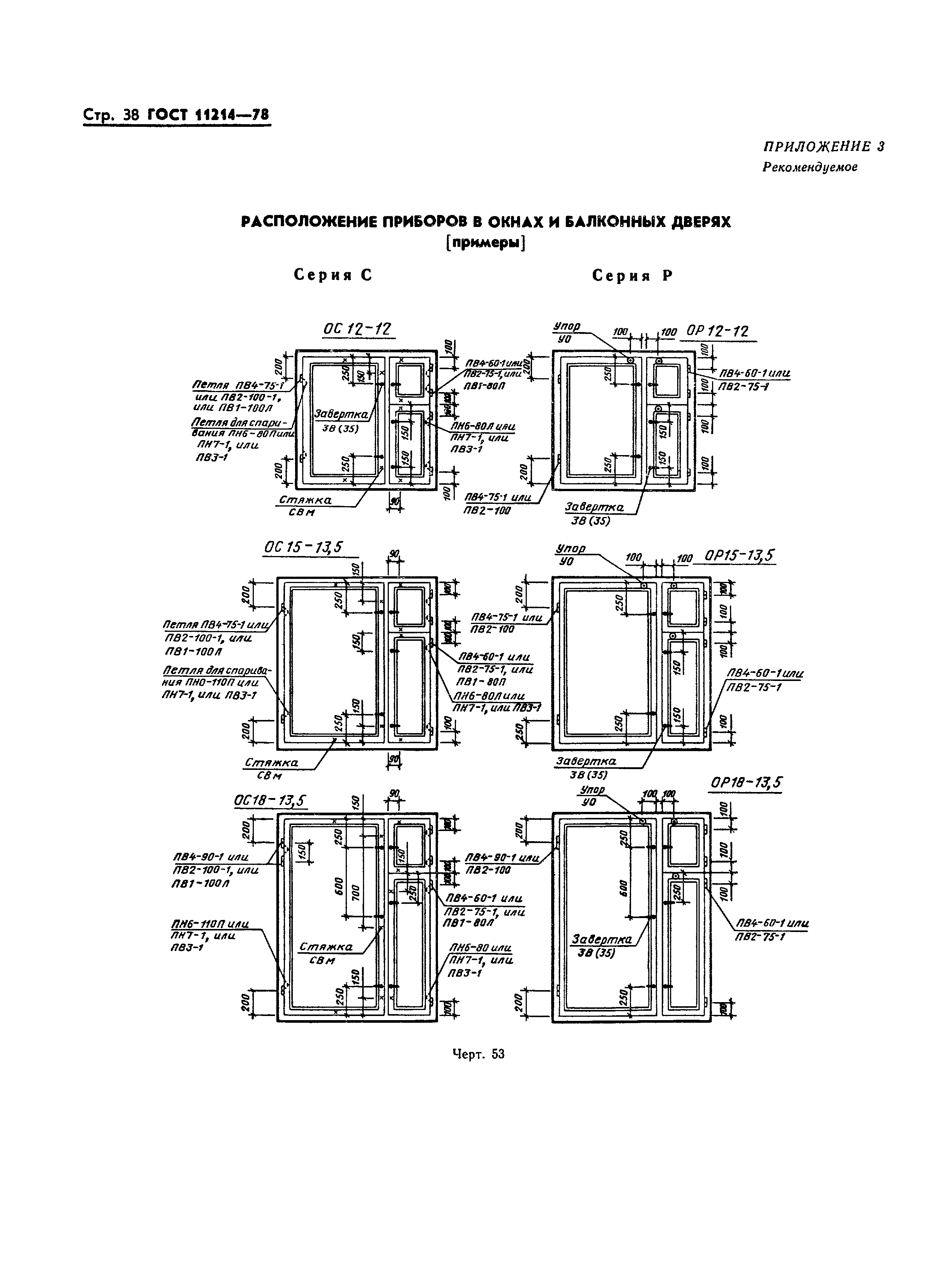
ГОСТ 11214-78 Окна и балконные двери деревянные с двойным остеклением для жилых и общественных зданий. Типы, конструкция и размеры
ГОСТ
Основная информация
Обозначение:
ГОСТ 11214-78
Статус:
утратил силу в РФ
Тип:
ГОСТ
Название русское:
Окна и балконные двери деревянные с двойным остеклением для жилых и общественных зданий. Типы, конструкция и размеры
Даты и сроки
Дата введения в действие:
01-01-81
Описание стандарта
ГОСТ 11214-78 Окна и балконные двери деревянные с двойным остеклением для жилых и общественных зданий. Типы, конструкция и размеры
Страницы стандарта












































