ГОСТ 25006-81 Оборудование обогатительное. Термины и определения
ГОСТ
Скачать ГОСТ в PDF или DOC бесплатно
Основная информация
Обозначение:
ГОСТ 25006-81
Статус:
Действует
Тип:
ГОСТ
Название русское:
Оборудование обогатительное. Термины и определения
Название английское:
Mineral processing equipment. Terms and definitions
Даты и сроки
Дата издания:
01-22-82
Дата введения в действие:
06-30-82
Дата завершения срока действия:
-
Применение и описание
Область и условия применения:
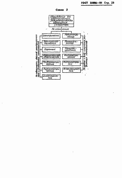
Настоящий стандарт устанавливает применяемые в науке, технике и производстве термины и определения понятий в области оборудования, предназначенного для обогащения твердых полезных ископаемых: руд черных и цветных металлов, твердых видов топлива и горно-химического сырья
Связи и замены
Заменяющий:
-
Изменения и переиздания
Список изменений:
№1 от (рег. ) «Срок действия продлен»
Описание стандарта
ГОСТ 25006-81 Оборудование обогатительное. Термины и определения
Страницы стандарта































