ГОСТ 14990-69 Опока литейная цельнолитая стальная круглая диаметром в свету 1200 мм, высотой 500 мм. Конструкция и размеры
ГОСТ
Скачать ГОСТ в PDF или DOC бесплатно
Основная информация
Обозначение:
ГОСТ 14990-69
Статус:
Действует
Тип:
ГОСТ
Название русское:
Опока литейная цельнолитая стальная круглая диаметром в свету 1200 мм, высотой 500 мм. Конструкция и размеры
Название английское:
Circular steel all-cast moulding boxes having inside diameter 1200 mm, height 500 mm. Construction and dimensions
Даты и сроки
Дата издания:
04-01-81
Дата введения в действие:
01-01-71
Дата завершения срока действия:
-
Применение и описание
Область и условия применения:
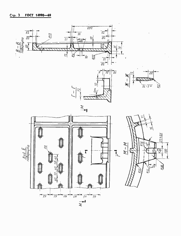
Настоящий стандарт распространяется на литейную цельнолитую стальную круглую опоку, предназначенную для изготовления песчаных литейных форм при машинной, пескометной и ручной формовке. Стандарт не распространяется на опоки, применяемые при формовке методом прессования под высоким удельным давлением
Связи и замены
Заменяющий:
-
Взамен:
МН 1995-61
Изменения и переиздания
Список изменений:
№1 от (рег. ) «Срок действия продлен»
Описание стандарта
ГОСТ 14990-69 Опока литейная цельнолитая стальная круглая диаметром в свету 1200 мм, высотой 500 мм. Конструкция и размеры
Страницы стандарта



