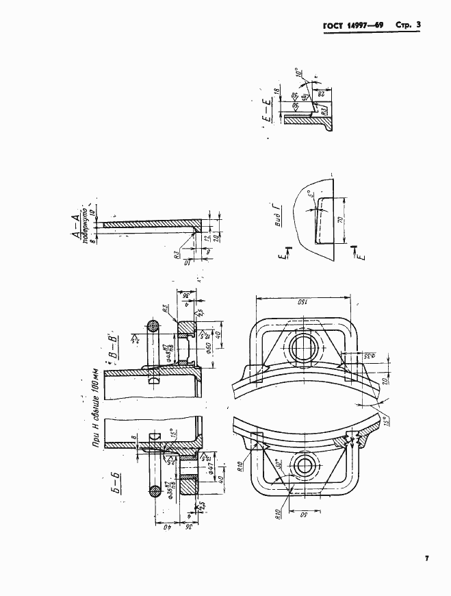
ГОСТ 14997-69 Опоки литейные цельнолитые чугунные круглые с упрощенным профилем стенок диаметром в свету: 400; 500 мм, высотой от 75 до 200 мм. Конструкция и размеры
ГОСТ
Скачать ГОСТ в PDF или DOC бесплатно
Основная информация
Обозначение:
ГОСТ 14997-69
Статус:
Действует
Тип:
ГОСТ
Название русское:
Опоки литейные цельнолитые чугунные круглые с упрощенным профилем стенок диаметром в свету: 400; 500 мм, высотой от 75 до 200 мм. Конструкция и размеры
Название английское:
Circular iron all-cast moulding boxes with simplified wall profile having inside diameter 400; 500 mm, height from 75 to 200 mm. Construction and dimensions
Даты и сроки
Дата издания:
11-01-81
Дата введения в действие:
01-01-71
Дата завершения срока действия:
-
Применение и описание
Область и условия применения:
Настоящий стандарт распространяется на литейные цельнолитые чугунные круглые опоки, предназначенные для изготовления песчаных литейных форм при машинной и ручной формовке. Стандарт не распространяется на опоки, применяемые при формовке методом прессования под высоким удельным давлением
Связи и замены
Заменяющий:
-
Взамен:
МН 2002-61
Изменения и переиздания
Список изменений:
№1 от (рег. ) «Срок действия продлен»
Описание стандарта
ГОСТ 14997-69 Опоки литейные цельнолитые чугунные круглые с упрощенным профилем стенок диаметром в свету: 400; 500 мм, высотой от 75 до 200 мм. Конструкция и размеры
Страницы стандарта



