ГОСТ 15011-69 Опоки литейные цельнолитые чугунные прямоугольные размерами в свету: длиной от 1600 до 2000 мм, шириной 1000; 1200 мм, высотой 450; 500 мм. Конструкция и размеры
ГОСТ
Скачать ГОСТ в PDF или DOC бесплатно
Основная информация
Обозначение:
ГОСТ 15011-69
Статус:
Действует
Тип:
ГОСТ
Название русское:
Опоки литейные цельнолитые чугунные прямоугольные размерами в свету: длиной от 1600 до 2000 мм, шириной 1000; 1200 мм, высотой 450; 500 мм. Конструкция и размеры
Название английское:
Rectangular iron all-cast moulding boxes having inside dimensions: length from 1600 to 2000 mm, width 1000; 1200mm, height 450; 500 mm. Construction and dimensions
Даты и сроки
Дата издания:
11-01-81
Дата введения в действие:
01-01-71
Дата завершения срока действия:
-
Применение и описание
Область и условия применения:
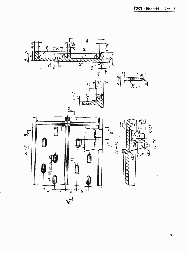
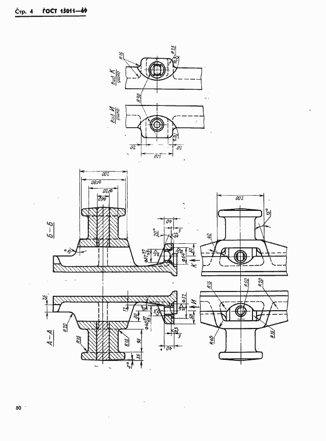
Настоящий стандарт распространяется на литейные цельнолитые чугунные прямоугольные опоки, предназначенные для изготовления песчаных литейных форм при машинной, пескометной и ручной формовке. Стандарт не распространяется на опоки, применяемые при формовке методом прессования под высоким удельным давлением
Связи и замены
Заменяющий:
-
Взамен:
МН 2016-61
Изменения и переиздания
Список изменений:
№1 от (рег. ) «Срок действия продлен»
Описание стандарта
ГОСТ 15011-69 Опоки литейные цельнолитые чугунные прямоугольные размерами в свету: длиной от 1600 до 2000 мм, шириной 1000; 1200 мм, высотой 450; 500 мм. Конструкция и размеры
Страницы стандарта




