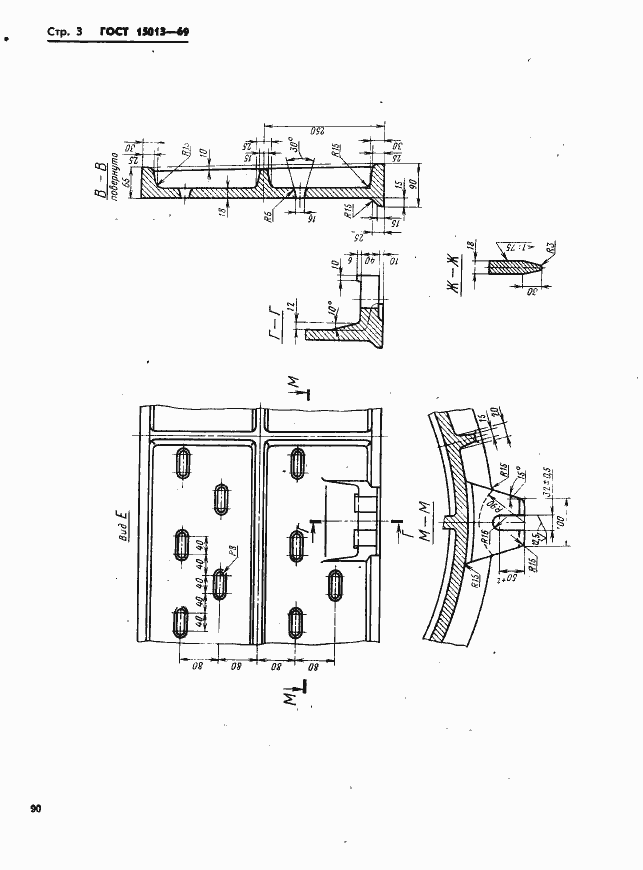
ГОСТ 15013-69 Опока литейная цельнолитая чугунная круглая диаметром в свету 1200 мм, высотой 500 мм. Конструкция и размеры
ГОСТ
Скачать ГОСТ в PDF или DOC бесплатно
Основная информация
Обозначение:
ГОСТ 15013-69
Статус:
Действует
Тип:
ГОСТ
Название русское:
Опока литейная цельнолитая чугунная круглая диаметром в свету 1200 мм, высотой 500 мм. Конструкция и размеры
Название английское:
Circular iron all-cast moulding boxes having inside diameter 1200 mm, height 500 mm. Construction and dimensions
Даты и сроки
Дата издания:
11-01-81
Дата введения в действие:
01-01-71
Дата завершения срока действия:
-
Применение и описание
Область и условия применения:
Настоящий стандарт распространяется на литейную цельнолитую чугунную круглую опоку, предназначенную для изготовления песчаных литейных форм при машинной, пескометной и ручной формовке. Стандарт не распространяется на опоки, применяемые при формовке методом прессования под высоким удельным давлением
Связи и замены
Заменяющий:
-
Взамен:
МН 2018-61
Изменения и переиздания
Список изменений:
№1 от (рег. ) «Срок действия продлен»
Описание стандарта
ГОСТ 15013-69 Опока литейная цельнолитая чугунная круглая диаметром в свету 1200 мм, высотой 500 мм. Конструкция и размеры
Страницы стандарта



