ГОСТ 16191-70 Заготовки матрицедержателей штампов горизонтально-ковочных машин. Конструкция и размеры
ГОСТ
Скачать ГОСТ в PDF или DOC бесплатно
Основная информация
Обозначение:
ГОСТ 16191-70
Статус:
Действует
Тип:
ГОСТ
Название русское:
Заготовки матрицедержателей штампов горизонтально-ковочных машин. Конструкция и размеры
Название английское:
Blanks of female dies holders of horizontal forging machines. Construction and dimensions
Даты и сроки
Дата издания:
09-14-70
Дата введения в действие:
01-01-71
Дата завершения срока действия:
-
Применение и описание
Область и условия применения:
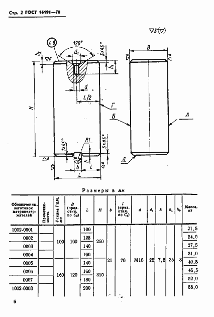
Настоящий стандарт распространяется на заготовки, предназначенные для изготовления матрицедержателей штампов горизонтально-ковочных машин с вертикальным разъемом матриц
Связи и замены
Заменяющий:
-
Взамен:
МН 1277-60
Изменения и переиздания
Список изменений:
№1 от (рег. ) «Срок действия продлен»
Описание стандарта
ГОСТ 16191-70 Заготовки матрицедержателей штампов горизонтально-ковочных машин. Конструкция и размеры
Страницы стандарта










