ГОСТы >
01.080.30 Графические обозначения для машиностроительных и строительных чертежей, диаграмм, планов, карт и соответствующей технической документации на продукцию >
ГОСТ 2.781-68
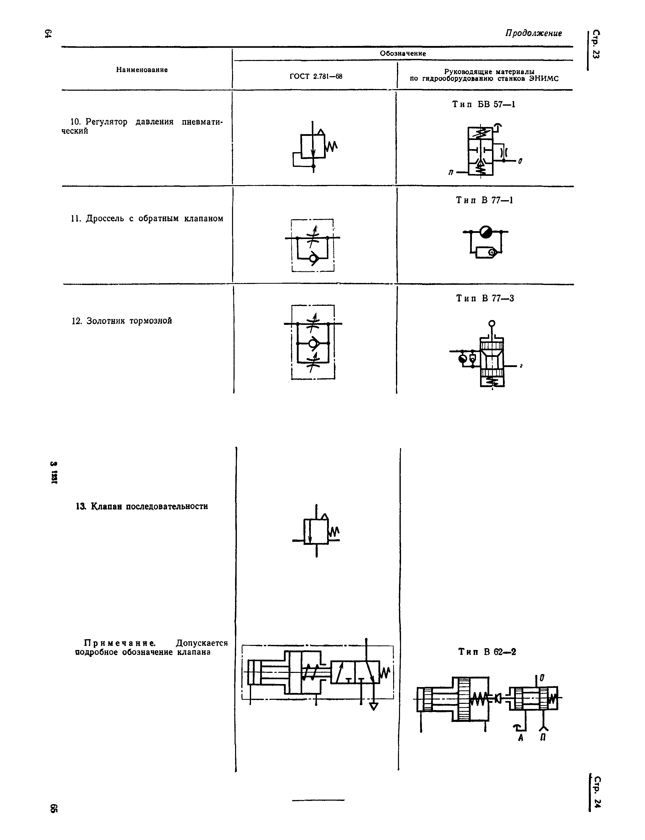
ГОСТ 2.781-68 Единая система конструкторской документации. Обозначения условные графические. Аппаратура распределительная и регулирующая гидравлическая и пневматическая
ГОСТ
Скачать ГОСТ в PDF или DOC бесплатно
Основная информация
Обозначение:
ГОСТ 2.781-68
Статус:
Заменен
Тип:
ГОСТ
Название русское:
Единая система конструкторской документации. Обозначения условные графические. Аппаратура распределительная и регулирующая гидравлическая и пневматическая
Название английское:
Unified system for design documentation. Graphical symbols for hydraulic and pneumatic directional and control valves
Даты и сроки
Дата издания:
10-01-82
Дата введения в действие:
01-01-71
Дата завершения срока действия:
01-01-98
Применение и описание
Область и условия применения:
Настоящий стандарт устанавливает условные графические обозначения распределительной и регулирующей аппаратуры в гидравлических и пневматических схемах, выполняемых во всех отраслях промышленности
Связи и замены
Заменяющий:
ГОСТ 2.781-96
Изменения и переиздания
Список изменений:
№1 от (рег. ) «Срок действия продлен» №2 от (рег. ) «Срок действия продлен» №3 от (рег. ) «Поправка» №4 от (рег. ) «Срок действия продлен»
Описание стандарта
ГОСТ 2.781-68 Единая система конструкторской документации. Обозначения условные графические. Аппаратура распределительная и регулирующая гидравлическая и пневматическая
Страницы стандарта
















