ГОСТы >
01.080.30 Графические обозначения для машиностроительных и строительных чертежей, диаграмм, планов, карт и соответствующей технической документации на продукцию >
ГОСТ 21.101-97
ГОСТ 21.101-97 Система проектной документации для строительства. Основные требования к проектной и рабочей документации
ГОСТ
Скачать ГОСТ в PDF или DOC бесплатно
Основная информация
Обозначение:
ГОСТ 21.101-97
Статус:
Утратил силу в РФ
Тип:
ГОСТ
Название русское:
Система проектной документации для строительства. Основные требования к проектной и рабочей документации
Название английское:
System of design documents for construction. Main requirements for design and working documents
Даты и сроки
Дата регистрации:
12-10-97
Дата издания:
01-01-97
Дата введения в действие:
01-01-98
Дата завершения срока действия:
03-01-10
Применение и описание
Область и условия применения:
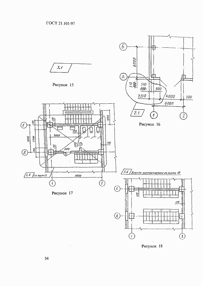
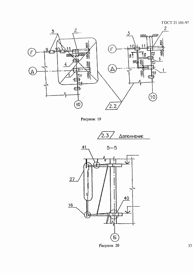
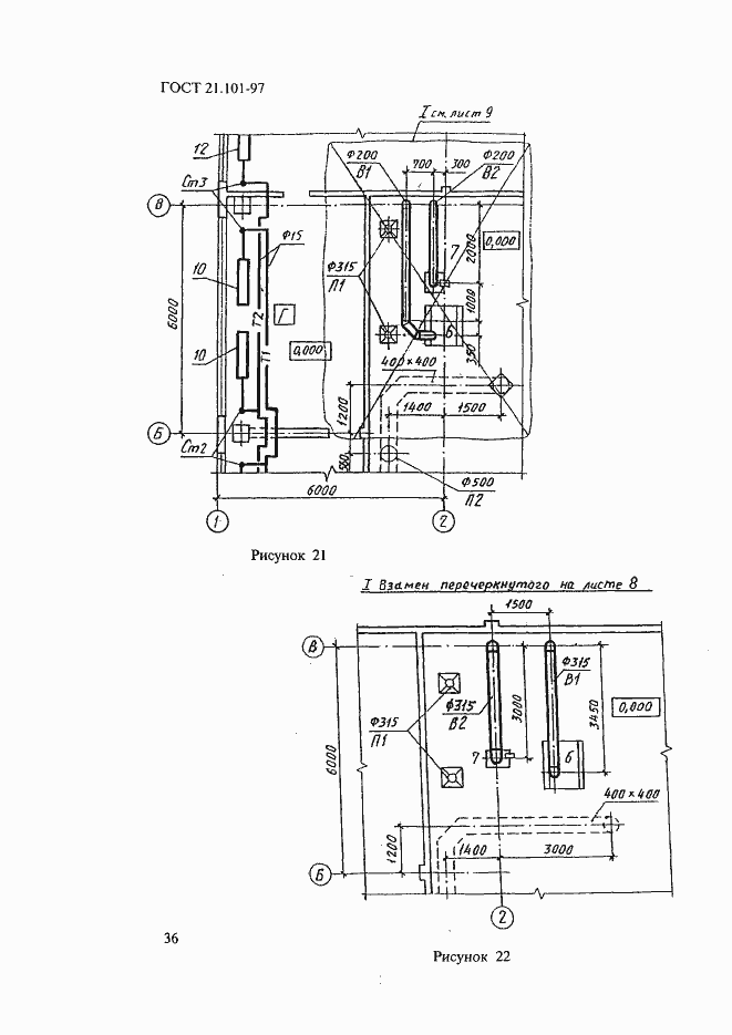
Настоящий стандарт устанавливает основные требования к проектной и рабочей документации на строительство предприятий, зданий и сооружений различного назначения
Связи и замены
Заменяющий:
-
Взамен:
ГОСТ 21.101-93
Изменения и переиздания
Список изменений:
№0 от (рег. ) «Поправка к изменению»
Описание стандарта
ГОСТ 21.101-97 Система проектной документации для строительства. Основные требования к проектной и рабочей документации
Страницы стандарта






































































