ГОСТ 21.601-2011 Система проектной документации для строительства. Правила выполнения рабочей документации внутренних систем водоснабжения и канализации
ГОСТ
Скачать ГОСТ в PDF или DOC бесплатно
Основная информация
Обозначение:
ГОСТ 21.601-2011
Статус:
Действует
Тип:
ГОСТ
Название русское:
Система проектной документации для строительства. Правила выполнения рабочей документации внутренних систем водоснабжения и канализации
Название английское:
System of design documents for construction. Rules for execution of working documents of internal water and sewerage systems
Даты и сроки
Дата регистрации:
12-08-11
Дата издания:
07-29-20
Дата введения в действие:
05-01-13
Дата завершения срока действия:
-
Применение и описание
Область и условия применения:
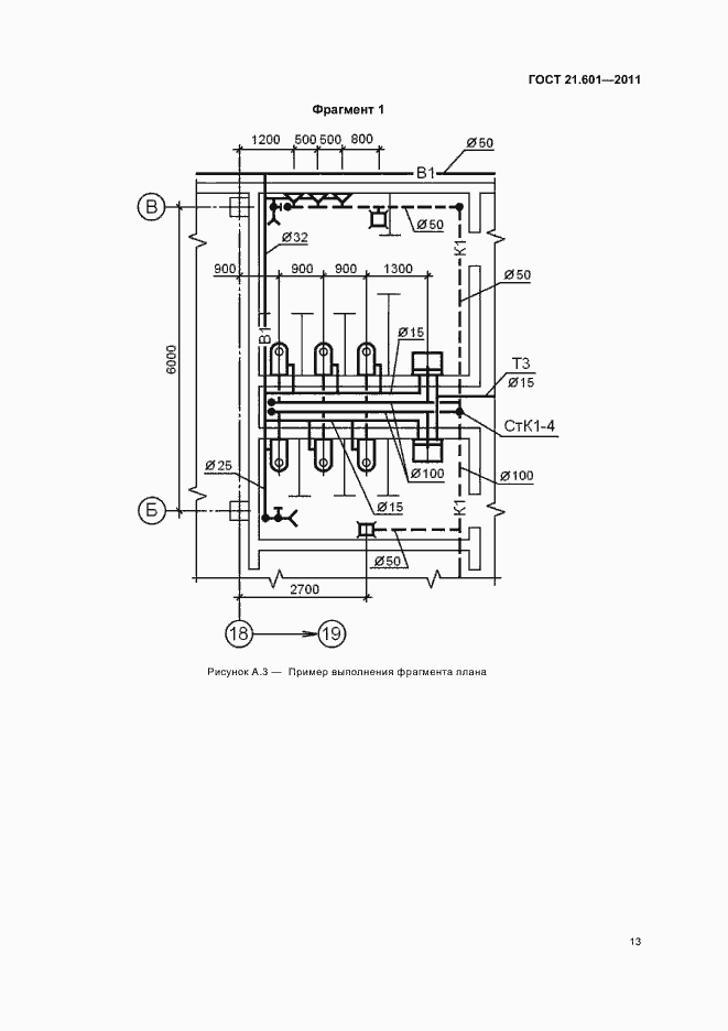
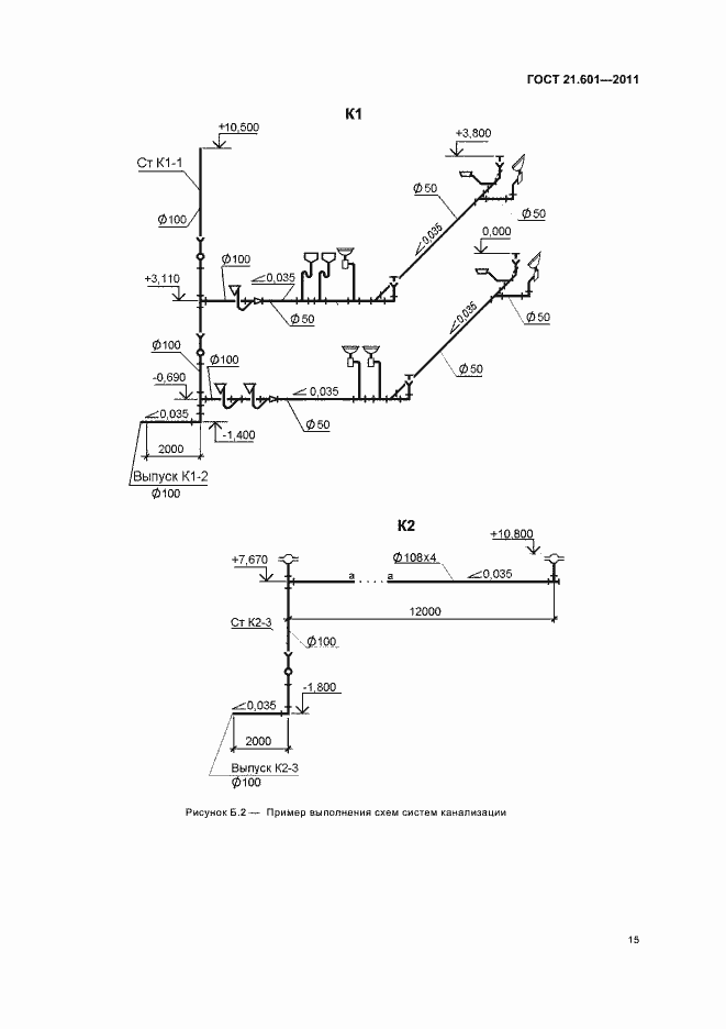
Настоящий стандарт устанавливает состав и правила оформления рабочей документации внутренних систем водоснабжения (в том числе бытового горячего водоснабжения) и канализации зданий и сооружений различного назначения. Настоящий стандарт не распространяется на правила оформления технологической рабочей документации сооружений водоподготовки и очистки сточных вод
Связи и замены
Заменяющий:
-
Взамен:
ГОСТ 21.601-79
Описание стандарта
ГОСТ 21.601-2011 Система проектной документации для строительства. Правила выполнения рабочей документации внутренних систем водоснабжения и канализации
Страницы стандарта



























