ГОСТ 21.602-2003 Система проектной документации для строительства. Правила выполнения рабочей документации отопления, вентиляции и кондиционирования
ГОСТ
Скачать ГОСТ в PDF или DOC бесплатно
Основная информация
Обозначение:
ГОСТ 21.602-2003
Статус:
Заменен
Тип:
ГОСТ
Название русское:
Система проектной документации для строительства. Правила выполнения рабочей документации отопления, вентиляции и кондиционирования
Название английское:
System of design documents for construction. Rules for execution of working documentation of heating, ventilation and air conditioning
Даты и сроки
Дата регистрации:
10-18-02
Дата издания:
05-06-04
Дата введения в действие:
06-01-03
Дата завершения срока действия:
07-01-17
Применение и описание
Область и условия применения:
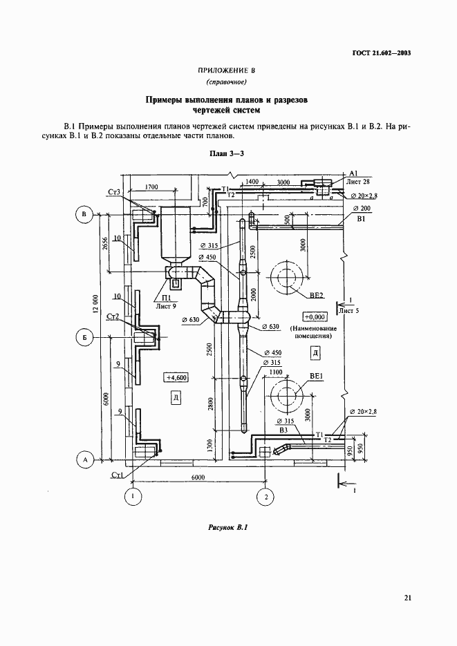
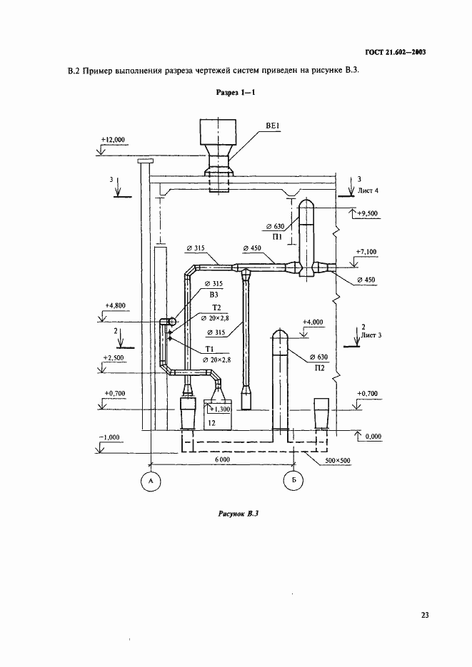
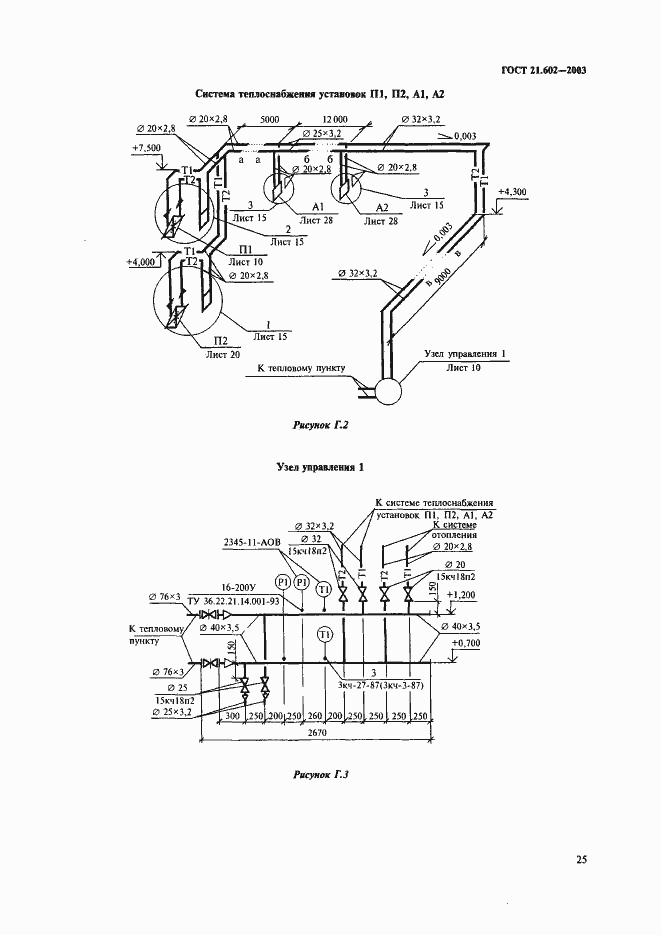
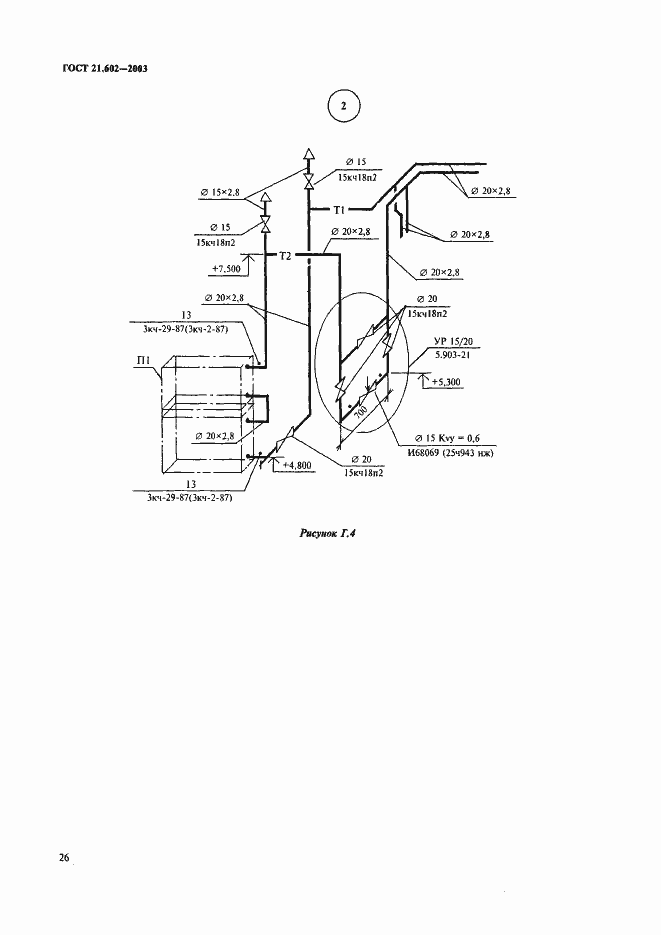
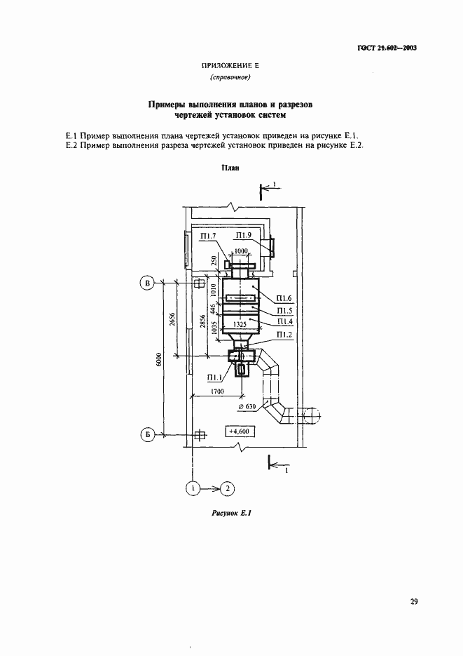
Настоящий стандарт устанавливает состав и правила оформления рабочей документации систем отопления, вентиляции и кондиционирования зданий и сооружений различного назначения
Связи и замены
Заменяющий:
ГОСТ 21.602-2016
Взамен:
ГОСТ 21.602-79
Описание стандарта
ГОСТ 21.602-2003 Система проектной документации для строительства. Правила выполнения рабочей документации отопления, вентиляции и кондиционирования
Страницы стандарта





































