ГОСТ 21.602-79 Система проектной документации для строительства. Отопление, вентиляция и кондиционирование воздуха. Рабочие чертежи
ГОСТ
Скачать ГОСТ в PDF или DOC бесплатно
Основная информация
Обозначение:
ГОСТ 21.602-79
Статус:
Заменен
Тип:
ГОСТ
Название русское:
Система проектной документации для строительства. Отопление, вентиляция и кондиционирование воздуха. Рабочие чертежи
Название английское:
System of design documents for construction. Heating, ventilation and air conditioning. Working drawings
Даты и сроки
Дата издания:
04-24-80
Дата введения в действие:
01-01-81
Дата завершения срока действия:
06-01-03
Применение и описание
Область и условия применения:
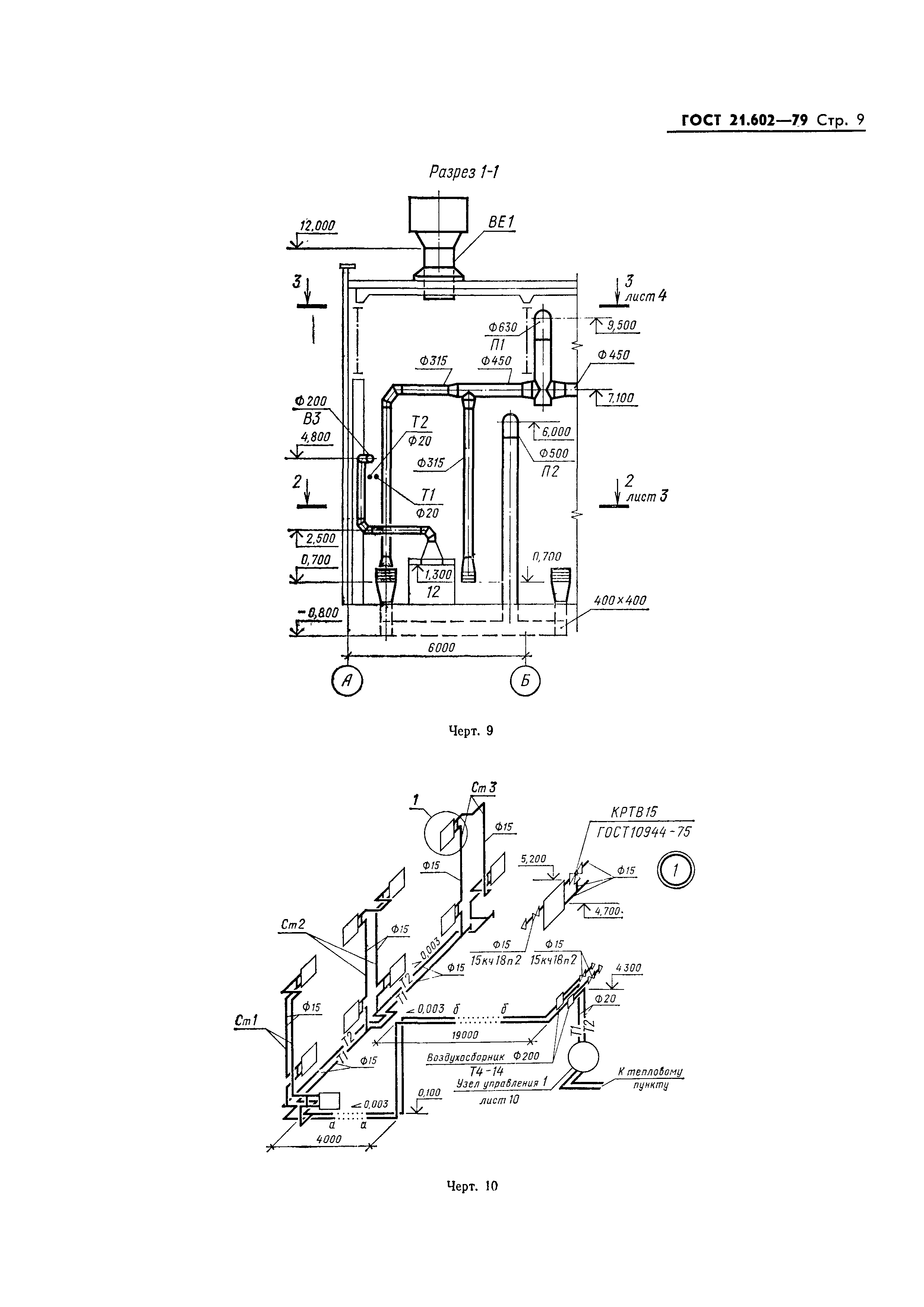
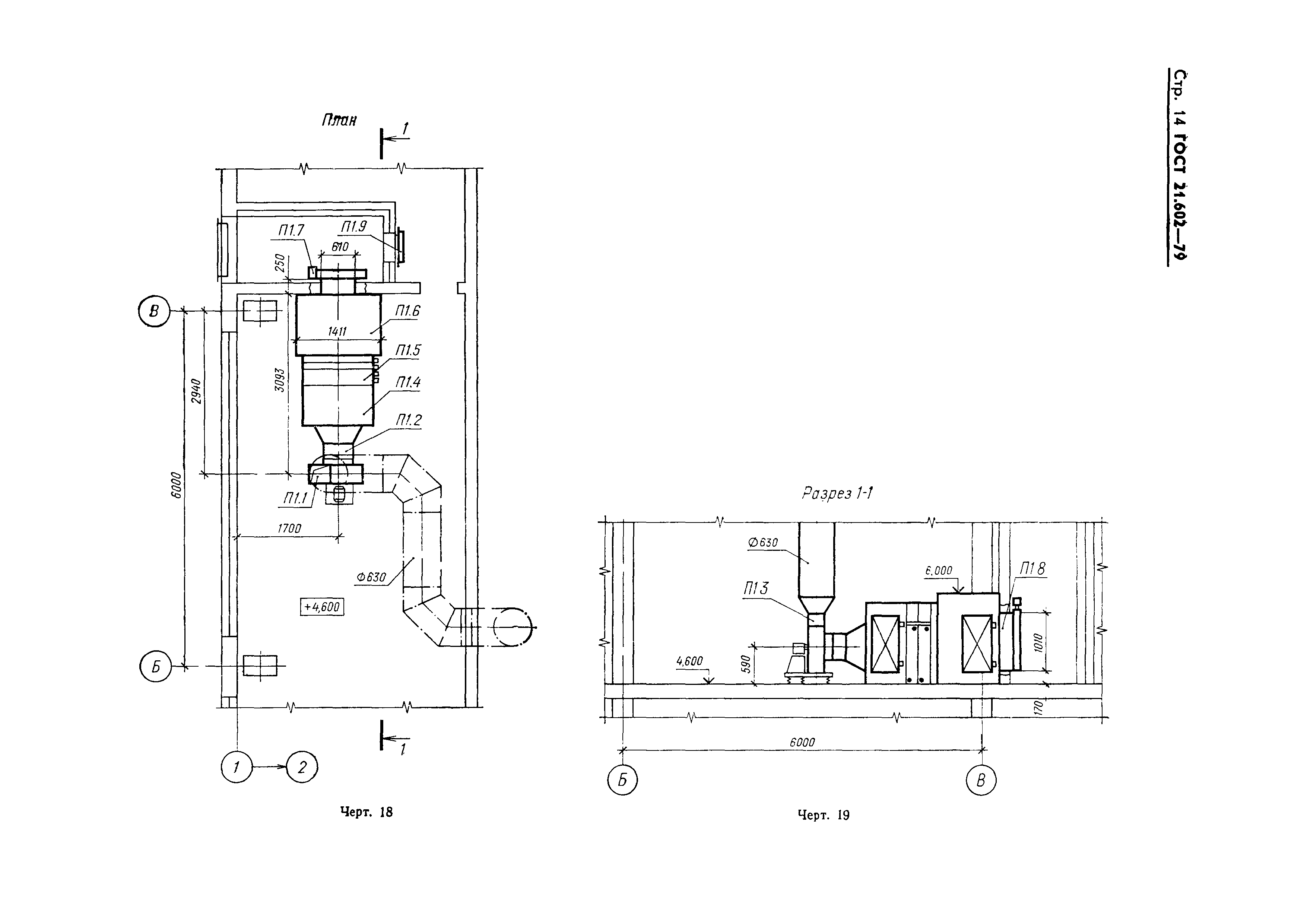
Настоящий стандарт устанавливает состав и правила выполнения рабочих чертежей отопления, вентиляции и кондиционирования воздуха зданий и сооружений всех отраслей промышленности и народного хозяйства
Связи и замены
Заменяющий:
ГОСТ 21.602-2003
Изменения и переиздания
Список изменений:
№1 от (рег. ) «Срок действия продлен»
Описание стандарта
ГОСТ 21.602-79 Система проектной документации для строительства. Отопление, вентиляция и кондиционирование воздуха. Рабочие чертежи
Страницы стандарта


















