ГОСТ 21.607-82 Система проектной документации для строительства. Электрическое освещение территории промышленных предприятий. Рабочие чертежи
ГОСТ
Скачать ГОСТ в PDF или DOC бесплатно
Основная информация
Обозначение:
ГОСТ 21.607-82
Статус:
Заменен
Тип:
ГОСТ
Название русское:
Система проектной документации для строительства. Электрическое освещение территории промышленных предприятий. Рабочие чертежи
Название английское:
System of building design documents. Electric lighting for industrial project site. Working drawings
Даты и сроки
Дата издания:
08-01-02
Дата введения в действие:
06-30-83
Дата завершения срока действия:
07-01-15
Применение и описание
Область и условия применения:
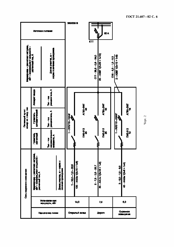
Настоящий стандарт устанавливает состав и правила оформления рабочих чертежей электрического освещения территории промышленных предприятий всех отраслей промышленности и народного хозяйства
Связи и замены
Заменяющий:
ГОСТ 21.607-2014
Описание стандарта
ГОСТ 21.607-82 Система проектной документации для строительства. Электрическое освещение территории промышленных предприятий. Рабочие чертежи
Страницы стандарта







