ГОСТы >
01.080.30 Графические обозначения для машиностроительных и строительных чертежей, диаграмм, планов, карт и соответствующей технической документации на продукцию >
ГОСТ 21.611-85
ГОСТ 21.611-85 Система проектной документации для строительства. Централизованное управление энергоснабжением. Условные графические и буквенные обозначения вида и содержания информации
ГОСТ
Скачать ГОСТ в PDF или DOC бесплатно
Основная информация
Обозначение:
ГОСТ 21.611-85
Статус:
Заменен
Тип:
ГОСТ
Название русское:
Система проектной документации для строительства. Централизованное управление энергоснабжением. Условные графические и буквенные обозначения вида и содержания информации
Название английское:
System of building design documents. Centralized power supply control. Graphical and letter designation of the type and contents of information
Даты и сроки
Дата издания:
03-01-02
Дата введения в действие:
06-30-86
Дата завершения срока действия:
07-01-15
Применение и описание
Область и условия применения:
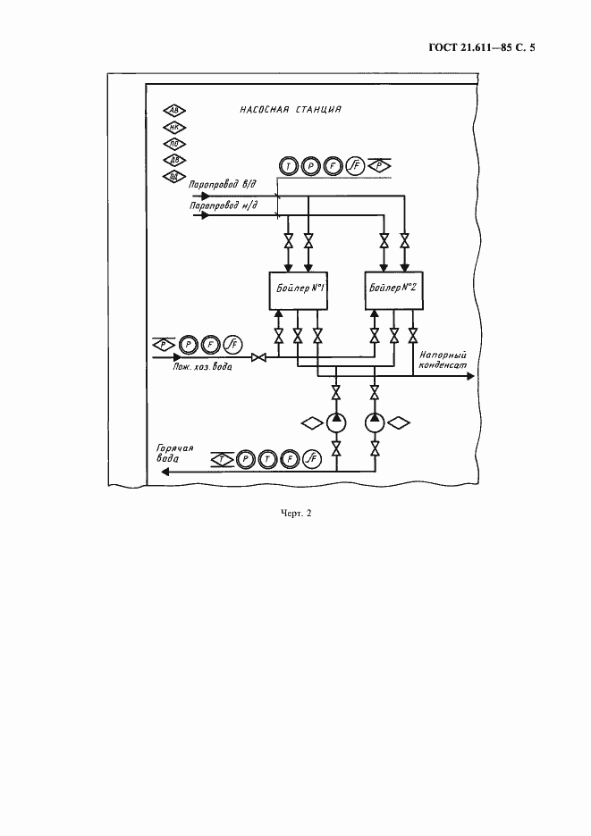
Настоящий стандарт устанавливает условные графические и буквенные обозначения вида и содержания информации, передаваемой в системах централизованного управления энергоснабжением предприятий, зданий и сооружений всех отраслей промышленности и народного хозяйства
Связи и замены
Заменяющий:
ГОСТ 21.209-2014
Описание стандарта
ГОСТ 21.611-85 Система проектной документации для строительства. Централизованное управление энергоснабжением. Условные графические и буквенные обозначения вида и содержания информации
Страницы стандарта






