ГОСТ 21.613-88 Система проектной документации для строительства. Силовое электрооборудование. Рабочие чертежи
ГОСТ
Скачать ГОСТ в PDF или DOC бесплатно
Основная информация
Обозначение:
ГОСТ 21.613-88
Статус:
Заменен
Тип:
ГОСТ
Название русское:
Система проектной документации для строительства. Силовое электрооборудование. Рабочие чертежи
Название английское:
System of building design documents. Power electrical equipment. Working drawings
Даты и сроки
Дата издания:
09-01-02
Дата введения в действие:
06-30-88
Дата завершения срока действия:
07-01-15
Применение и описание
Область и условия применения:
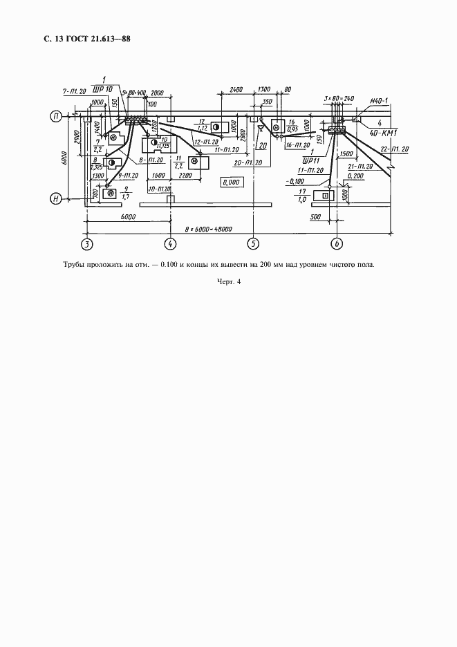
Настоящий стандарт устанавливает состав и правила оформлении рабочих чертежей силового электрооборудования предприятий, зданий и сооружений для всех отраслей промышленности и народного хозяйства
Связи и замены
Заменяющий:
ГОСТ 21.613-2014
Описание стандарта
ГОСТ 21.613-88 Система проектной документации для строительства. Силовое электрооборудование. Рабочие чертежи
Страницы стандарта















