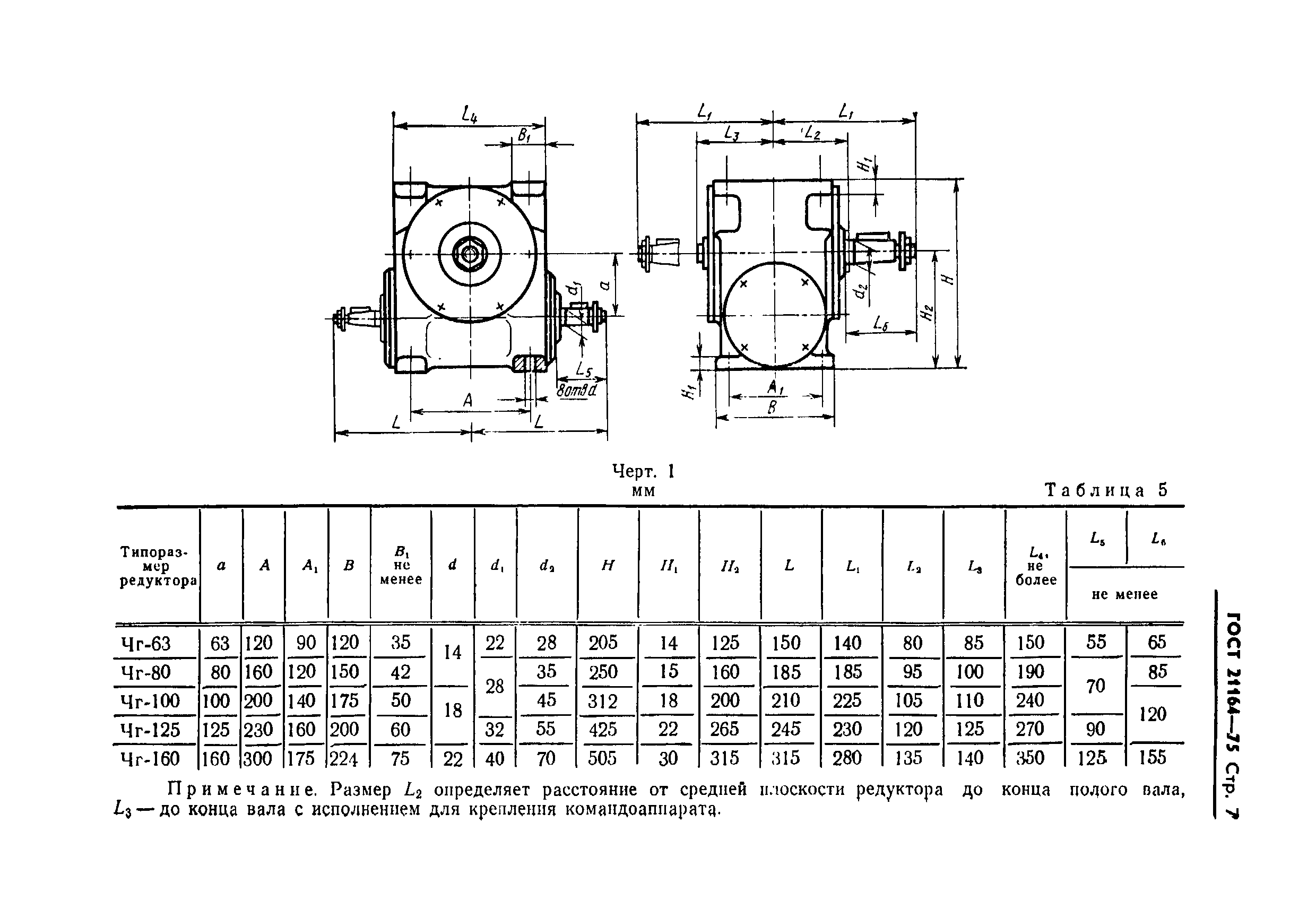
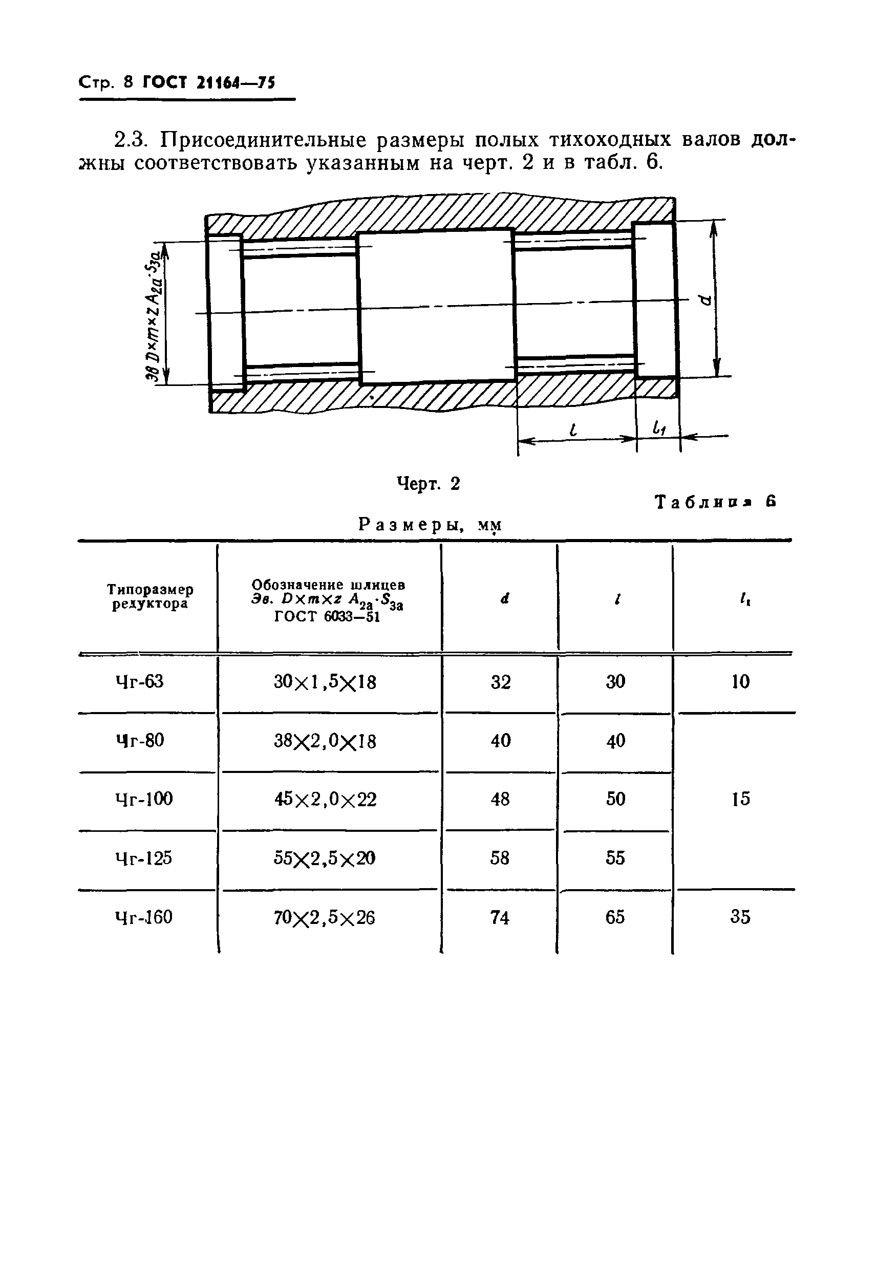
ГОСТ 21164-75 Редукторы глобоидные типа Чг. Основные параметры, габаритные и присоединительные размеры
ГОСТ
Основная информация
Обозначение:
ГОСТ 21164-75
Статус:
утратил силу в РФ
Тип:
ГОСТ
Название русское:
Редукторы глобоидные типа Чг. Основные параметры, габаритные и присоединительные размеры
Даты и сроки
Дата введения в действие:
01-01-77
Описание стандарта
ГОСТ 21164-75 Редукторы глобоидные типа Чг. Основные параметры, габаритные и присоединительные размеры
Страницы стандарта











