ГОСТ 22390-77 Кузова-фургоны автомобильные. Элементы крепления и схемы взаимного расположения шанцевого инструмента. Технические требования
ГОСТ
Скачать ГОСТ в PDF или DOC бесплатно
Основная информация
Обозначение:
ГОСТ 22390-77
Статус:
Действует
Тип:
ГОСТ
Название русское:
Кузова-фургоны автомобильные. Элементы крепления и схемы взаимного расположения шанцевого инструмента. Технические требования
Название английское:
Automobile body-boxes. Fixture parts and circuits for cluster spacing of entrenching tools. Technical requirements
Даты и сроки
Дата издания:
02-01-01
Дата введения в действие:
01-01-78
Дата завершения срока действия:
-
Применение и описание
Область и условия применения:
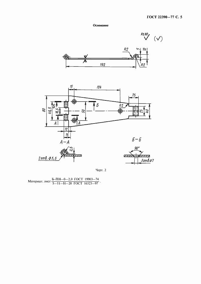
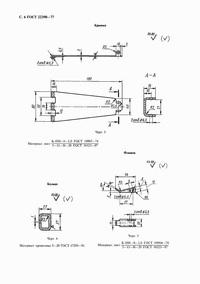
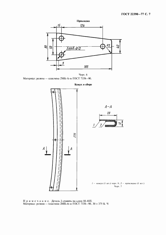
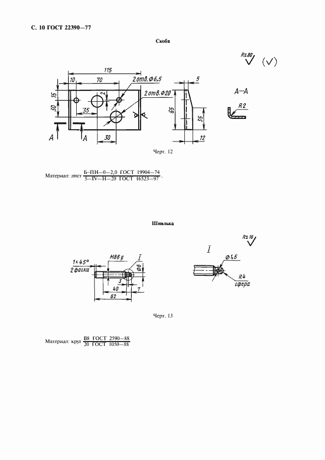
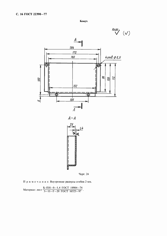
Настоящий стандарт распространяется на элементы крепления и схемы взаимного расположения шанцевого инструмента, применяемого в кузовах-фургонах типов К и КМ и устанавливает схемы их взаимного расположения и технические требования к элементам крепления
Связи и замены
Заменяющий:
-
Изменения и переиздания
Список изменений:
№1 от (рег. ) «Срок действия продлен» №2 от (рег. ) «Срок действия продлен»
Описание стандарта
ГОСТ 22390-77 Кузова-фургоны автомобильные. Элементы крепления и схемы взаимного расположения шанцевого инструмента. Технические требования
Страницы стандарта

















