ГОСТ 22584-88 Тали электрические канатные. Технические условия
ГОСТ
Скачать ГОСТ в PDF или DOC бесплатно
Основная информация
Обозначение:
ГОСТ 22584-88
Статус:
Заменен
Тип:
ГОСТ
Название русское:
Тали электрические канатные. Технические условия
Название английское:
Rope electric hoists. Specifications
Даты и сроки
Дата издания:
06-01-93
Дата введения в действие:
06-30-90
Дата завершения срока действия:
01-01-98
Связи и замены
Заменяющий:
ГОСТ 22584-96
Взамен:
ГОСТ22584-77;ГОСТ ЭД1 22584-80;ГОСТ12.2.089-83;ГОСТ25274-82
Изменения и переиздания
Список изменений:
№1 от (рег. ) «Срок действия продлен»
Описание стандарта
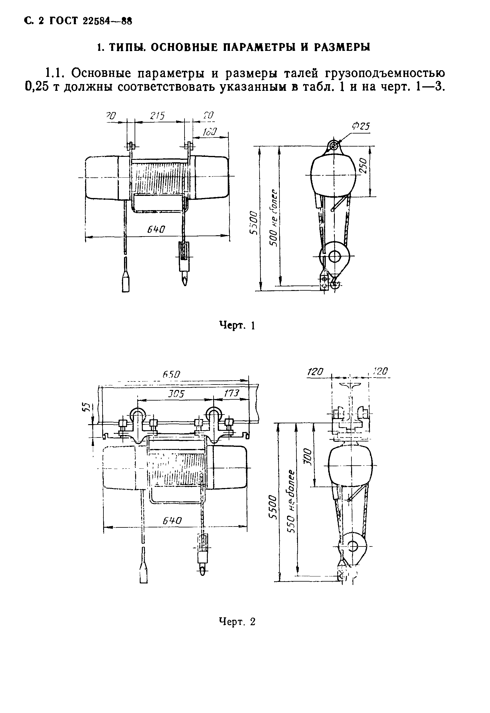
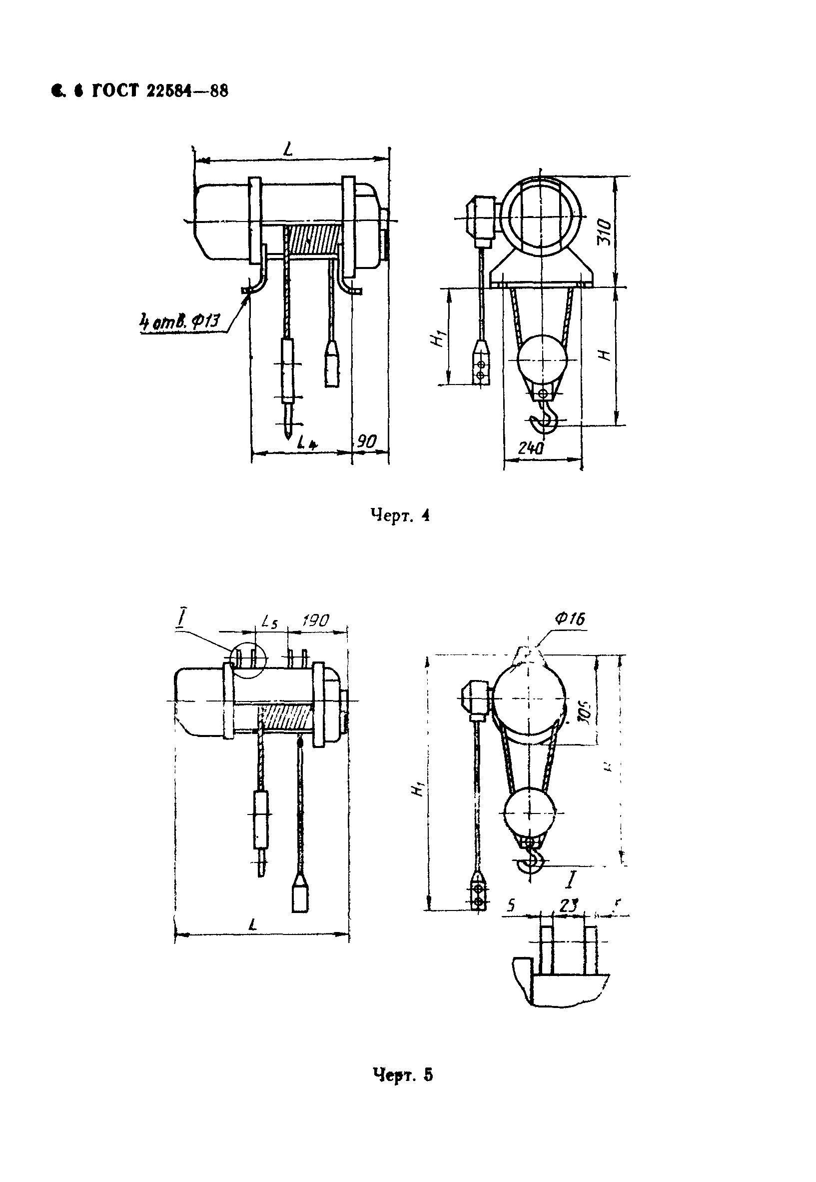
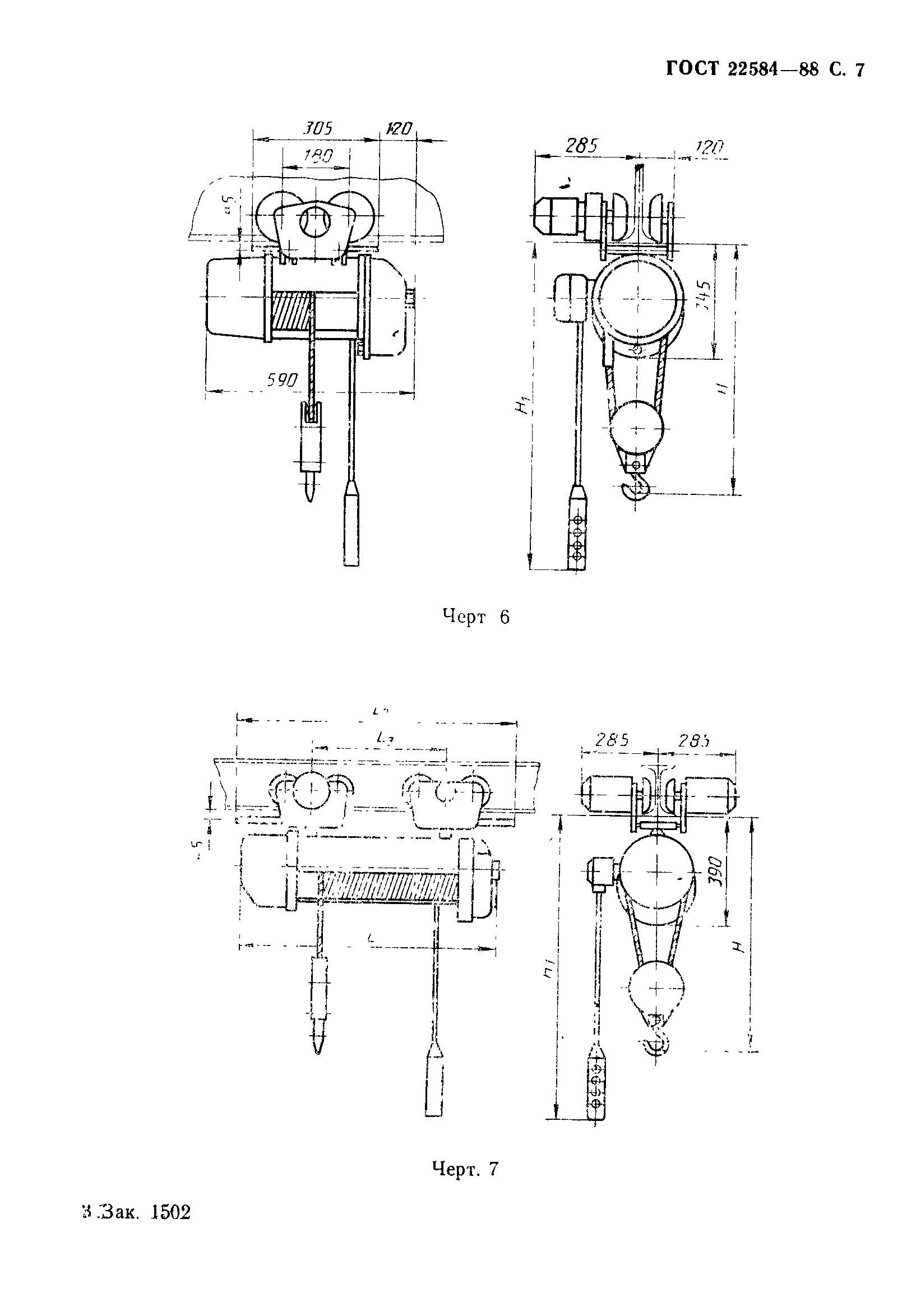
ГОСТ 22584-88 Тали электрические канатные. Технические условия
Страницы стандарта



























































