ГОСТ 24045-2016 Профили стальные листовые гнутые с трапециевидными гофрами для строительства. Технические условия
ГОСТ
Скачать ГОСТ в PDF или DOC бесплатно
Основная информация
Обозначение:
ГОСТ 24045-2016
Статус:
Действует
Тип:
ГОСТ
Название русское:
Профили стальные листовые гнутые с трапециевидными гофрами для строительства. Технические условия
Название английское:
Steel sheet bent probiles with stair landings and railings for construction. Specifications
Даты и сроки
Дата регистрации:
08-31-16
Дата издания:
11-29-16
Дата введения в действие:
04-01-17
Дата завершения срока действия:
-
Применение и описание
Область и условия применения:
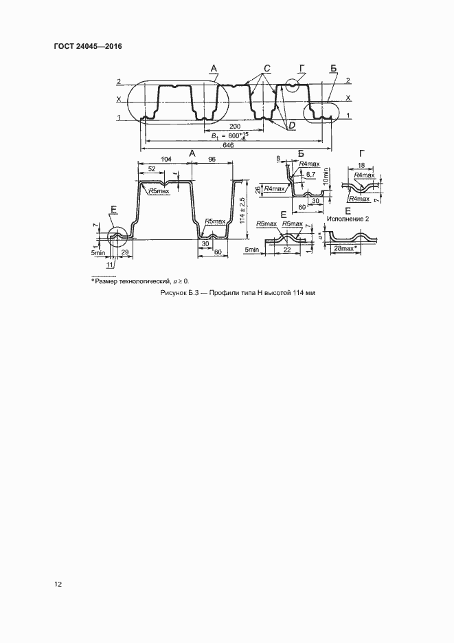
Настоящий стандарт распространяется на холодногнутые листовые профили с трапециевидной формой гофра, изготовляемые из оцинкованной стали на профилегибочных станах и предназначенные для применения в строительстве
Связи и замены
Заменяющий:
-
Взамен:
ГОСТ 24045-2010
Описание стандарта
ГОСТ 24045-2016 Профили стальные листовые гнутые с трапециевидными гофрами для строительства. Технические условия
Страницы стандарта


























Приложение №1: Поправка к ГОСТ 24045-2016 Обозначение: Поправка к ГОСТ 24045-2016 Дата введения в действие: 04.04.2025
