ГОСТ 25154-82 Зажимы контактные наборные с плоскими выводами. Конструкция, основные параметры и размеры
ГОСТ
Скачать ГОСТ в PDF или DOC бесплатно
Основная информация
Обозначение:
ГОСТ 25154-82
Статус:
Действует
Тип:
ГОСТ
Название русское:
Зажимы контактные наборные с плоскими выводами. Конструкция, основные параметры и размеры
Название английское:
Terminal contact blocks with flat terminals. Design, main parametrs and dimensions
Даты и сроки
Дата издания:
05-24-82
Дата введения в действие:
01-01-84
Дата завершения срока действия:
-
Применение и описание
Область и условия применения:
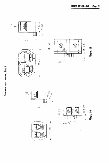
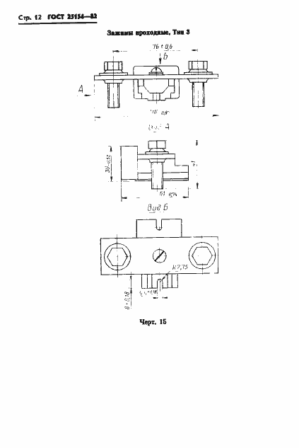
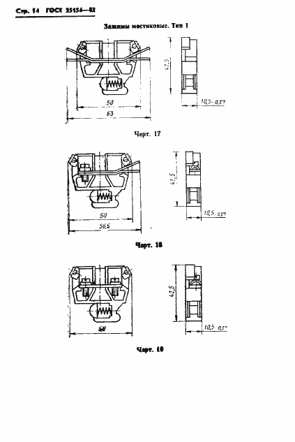
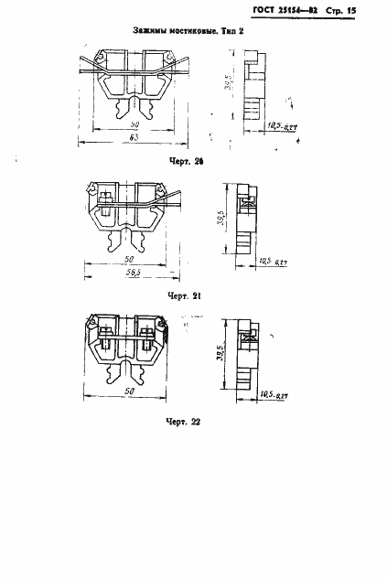
Настоящий стандарт распространяется на наборные контактные зажимы с плоскими выводами проходные и специальные (мостиковые, разъединительные и измерительные) и колодки торцовые зажимов, соединяемые в разборные блоки, и на неразборные блоки, предназначенные для присоединения и ответвления проводников из меди, алюмомедных, алюминиевых и из алюминиевых сплавов сечением от 0,35 до 370 мм кв.
Связи и замены
Заменяющий:
-
Изменения и переиздания
Список изменений:
№0 от (рег. ) «Срок действия продлен»
Описание стандарта
ГОСТ 25154-82 Зажимы контактные наборные с плоскими выводами. Конструкция, основные параметры и размеры
Страницы стандарта





































