ГОСТ 25573-82 Стропы грузовые канатные для строительства. Технические условия
ГОСТ
Скачать ГОСТ в PDF или DOC бесплатно
Основная информация
Обозначение:
ГОСТ 25573-82
Статус:
Утратил силу в РФ
Тип:
ГОСТ
Название русское:
Стропы грузовые канатные для строительства. Технические условия
Название английское:
Cargo handling rope slings for building. Specifications
Даты и сроки
Дата издания:
09-01-04
Дата введения в действие:
01-01-84
Дата завершения срока действия:
09-01-20
Применение и описание
Область и условия применения:
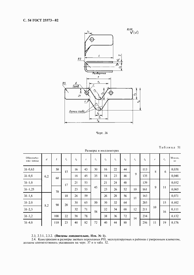
Настоящий стандарт распространяется на грузовые канатные стропы, состоящие из соединительных элементов (канатных ветвей, звеньев) и захватов (крюков, карабинов) и применяемые в строительстве для строповки грузов
Связи и замены
Заменяющий:
-
Изменения и переиздания
Список изменений:
№1 от (рег. ) «Срок действия продлен» №2 от (рег. ) «Срок действия продлен»
Описание стандарта
ГОСТ 25573-82 Стропы грузовые канатные для строительства. Технические условия
Страницы стандарта
































































