ГОСТ 25671-83 Соединители плоские втычные. Типы, конструкция и размеры
ГОСТ
Скачать ГОСТ в PDF или DOC бесплатно
Основная информация
Обозначение:
ГОСТ 25671-83
Статус:
Действует
Тип:
ГОСТ
Название русское:
Соединители плоские втычные. Типы, конструкция и размеры
Название английское:
Flat pluq-in connectors. Types, construction and sizes
Даты и сроки
Дата издания:
05-31-83
Дата введения в действие:
01-01-85
Дата завершения срока действия:
-
Применение и описание
Область и условия применения:
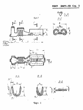
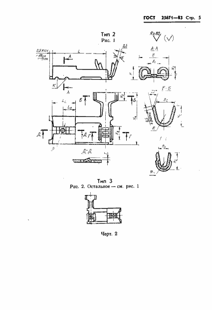
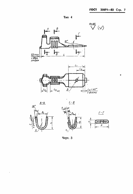
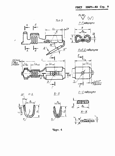
Настоящий стандарт распространяется на плоские втычные соединители, предназначенные для разъемного контакта соединения проводов, шнуров и кабелей с медными многопроволочными жилами сечением от 0,35 до 10 мм кв. между собой и присоединеиия указанных проводов к электрическим устройствам
Связи и замены
Заменяющий:
-
Изменения и переиздания
Список изменений:
№1 от (рег. ) «Поправка»
Описание стандарта
ГОСТ 25671-83 Соединители плоские втычные. Типы, конструкция и размеры
Страницы стандарта




















