ГОСТ 26222-86 Детекторы ионизирующих излучений полупроводниковые. Методы измерения параметров
ГОСТ
Скачать ГОСТ в PDF или DOC бесплатно
Основная информация
Обозначение:
ГОСТ 26222-86
Статус:
Действует
Тип:
ГОСТ
Название русское:
Детекторы ионизирующих излучений полупроводниковые. Методы измерения параметров
Название английское:
Ionizing-radiation semiconductor detectors. Methods of parameters measurement
Даты и сроки
Дата издания:
07-09-86
Дата введения в действие:
06-30-87
Дата завершения срока действия:
-
Применение и описание
Область и условия применения:
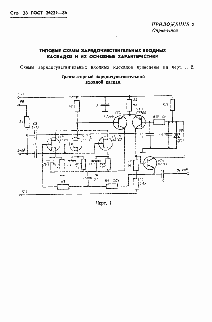
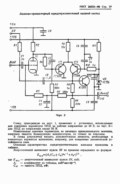
Настоящий стандарт распространяется на полупроводниковые детекторы ионизирующих излучений (ППД) и устанавливает методы измерения их электрических и радиометрических параметров: темнового тока; емкости (гармонический и зарядовый методы); энергетического разрешения; энергетического эквивалента шума (метод непосредственного измерения и спектрометрический метод); энергетического эквивалента толщины метрвого слоя; дискретной чувствительности регистрации; средней частоты следования фоновых импульсов; радиационной помехоустойчивости; аналоговой чувствительности регистарции (статический и импульсный методы); времени нарастания сигнала; длительсности фронта нарастания сигнала.Стандарт не распространяется на ППД, изготавливаемые по ГОСТ 18398-81, а также на запоминающие ППД
Связи и замены
Заменяющий:
-
Взамен:
ГОСТ 17619-72;ГОСТ 26222-84
Описание стандарта
ГОСТ 26222-86 Детекторы ионизирующих излучений полупроводниковые. Методы измерения параметров
Страницы стандарта












































