ГОСТ 26548-85 Воздухонагреватели. Методы испытаний
ГОСТ
Скачать ГОСТ в PDF или DOC бесплатно
Основная информация
Обозначение:
ГОСТ 26548-85
Статус:
Действует
Тип:
ГОСТ
Название русское:
Воздухонагреватели. Методы испытаний
Название английское:
Air heaters. Methods of tests
Даты и сроки
Дата издания:
08-19-85
Дата введения в действие:
01-01-86
Дата завершения срока действия:
-
Применение и описание
Область и условия применения:
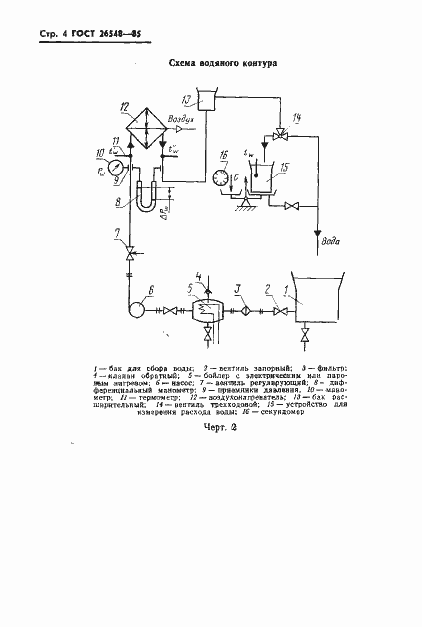
Настоящий стандарт распространяется на воздухонагреватели, обогреваемые водой и паром, предназначенные для нагревания воздуха в системах кондиционирования воздуха, вентиляции, воздушного отопления, в сушильных установках и воздушно-тепловых завесах, и устанавливает методы стендовых теплотехнических, аэродинамических и гидравлических испытаний воздухонагревателей. Стандарт не распространяется на воздухонагреватели специального назначения и исполнения (воздухонагреватели кондиционеров, транспортных средств, отопительно-вентиляционных и других агрегатов)
Связи и замены
Заменяющий:
-
Изменения и переиздания
Список изменений:
№1 от (рег. ) «Срок действия продлен»
Описание стандарта
ГОСТ 26548-85 Воздухонагреватели. Методы испытаний
Страницы стандарта




















