ГОСТ 27918-88 Реле измерительные с одной входной воздействующей величиной с зависимой выдержкой времени
ГОСТ
Скачать ГОСТ в PDF или DOC бесплатно
Основная информация
Обозначение:
ГОСТ 27918-88
Статус:
Действует
Тип:
ГОСТ
Название русское:
Реле измерительные с одной входной воздействующей величиной с зависимой выдержкой времени
Название английское:
Single input energizing quantity measuring relays with dependent specified time
Даты и сроки
Дата издания:
02-08-89
Дата введения в действие:
01-01-92
Дата завершения срока действия:
-
Применение и описание
Область и условия применения:
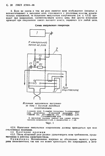
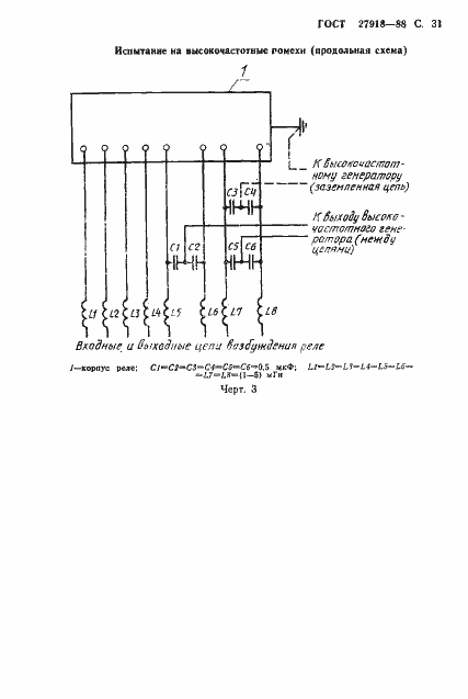
Настоящий стандарт распространяется на измерительные электрические реле, используемые в электротехнике, с контактом (ами), с одной входной воздействующей величиной с зависимой выдержкой времени, за исключением электротепловых реле, которые рассматриваются в отдельном стандарте
Связи и замены
Заменяющий:
-
Описание стандарта
ГОСТ 27918-88 Реле измерительные с одной входной воздействующей величиной с зависимой выдержкой времени
Страницы стандарта


































