ГОСТ 28070-89 Автомобили легковые и грузовые, автобусы. Обзорность с места водителя. Общие технические требования. Методы испытаний
ГОСТ
Скачать ГОСТ в PDF или DOC бесплатно
Основная информация
Обозначение:
ГОСТ 28070-89
Статус:
Утратил силу в РФ
Тип:
ГОСТ
Название русское:
Автомобили легковые и грузовые, автобусы. Обзорность с места водителя. Общие технические требования. Методы испытаний
Название английское:
Passenger cars, trucks and buses. Visibility from the driver`s seat. General technical requirements. Test methods
Даты и сроки
Дата издания:
06-27-89
Дата введения в действие:
01-01-90
Дата завершения срока действия:
01-01-00
Применение и описание
Область и условия применения:
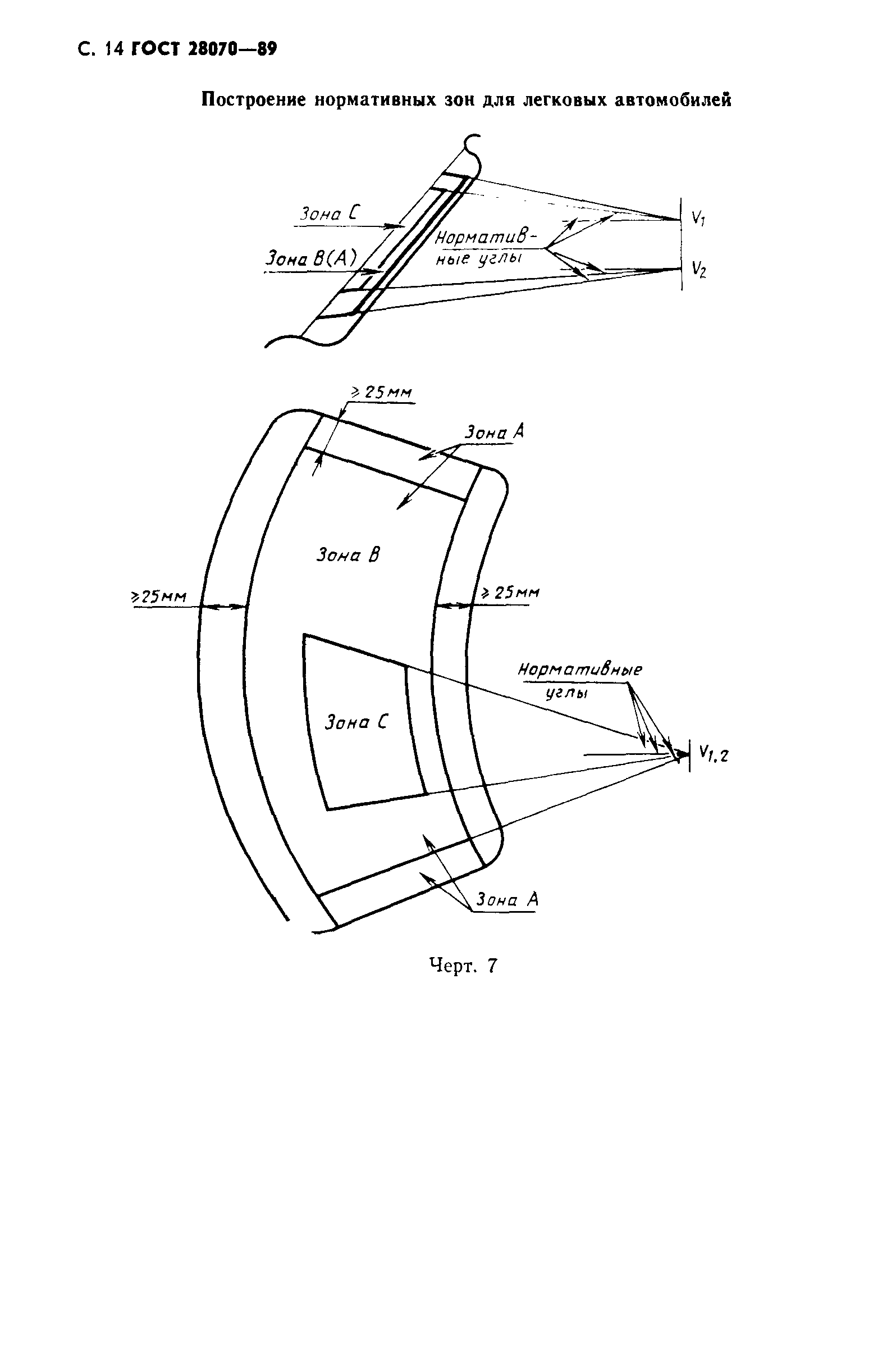
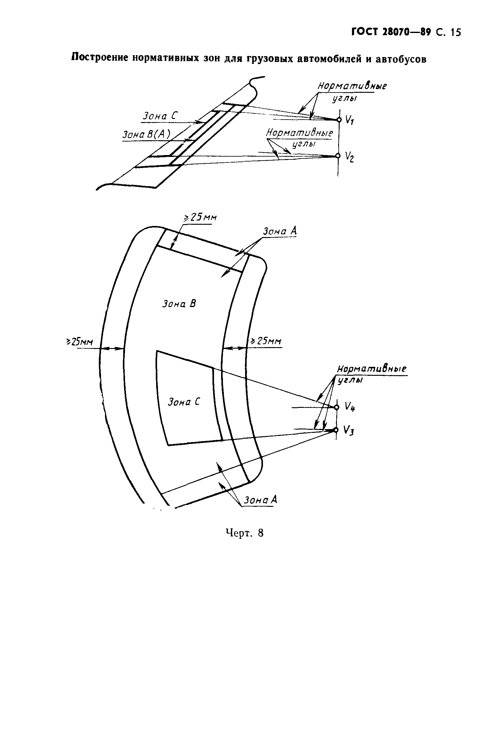
Настоящий стандарт распространяется на легковые и грузовые автомобили, автобусы, в том числе троллейбусы и устанавливает общие технические требования и методы испытаний в части передней обзорности с места водителя. Стандарт не распространяется на легковые автомобили высшего класса, грузовые автомобили с двумя, тремя и одной одноместной кабиной, автобусы, спроектированные на шасси грузовых автомобилей, карьерные самосвалы и автомобили многоцелевого назначения. Для автомобилей исполнения Т и ХЛ по ГОСТ 15150 допускаются изменения значений показателей обзорности, указанные в техническом задании
Связи и замены
Заменяющий:
-
Взамен:
ГОСТ 22734-77;ГОСТ 22893-77
Изменения и переиздания
Список изменений:
№0 от (рег. ) «Поправка к изменению»
Описание стандарта
ГОСТ 28070-89 Автомобили легковые и грузовые, автобусы. Обзорность с места водителя. Общие технические требования. Методы испытаний
Страницы стандарта


















