ГОСТ 28213-89 Основные методы испытаний на воздействие внешних факторов. Часть 2. Испытания. Испытание Еа и руководство: Одиночный удар
ГОСТ
Скачать ГОСТ в PDF или DOC бесплатно
Основная информация
Обозначение:
ГОСТ 28213-89
Статус:
Действует
Тип:
ГОСТ
Название русское:
Основные методы испытаний на воздействие внешних факторов. Часть 2. Испытания. Испытание Еа и руководство: Одиночный удар
Название английское:
Basic environmental testing prosedures. Part 2. Tests. Test Ea and guidance: Shock
Даты и сроки
Дата издания:
08-01-06
Дата введения в действие:
03-01-90
Дата завершения срока действия:
-
Применение и описание
Область и условия применения:
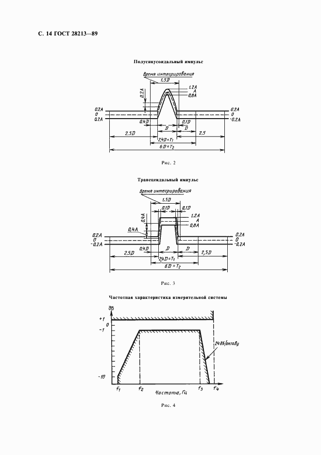
Настоящее испытание применяется для элементов, аппаратуры и других электротехнических изделий, которые во время транспортирования или эксплуатации подвергаются относительно нечастым одиночным ударам
Связи и замены
Заменяющий:
-
Описание стандарта
ГОСТ 28213-89 Основные методы испытаний на воздействие внешних факторов. Часть 2. Испытания. Испытание Еа и руководство: Одиночный удар
Страницы стандарта






















