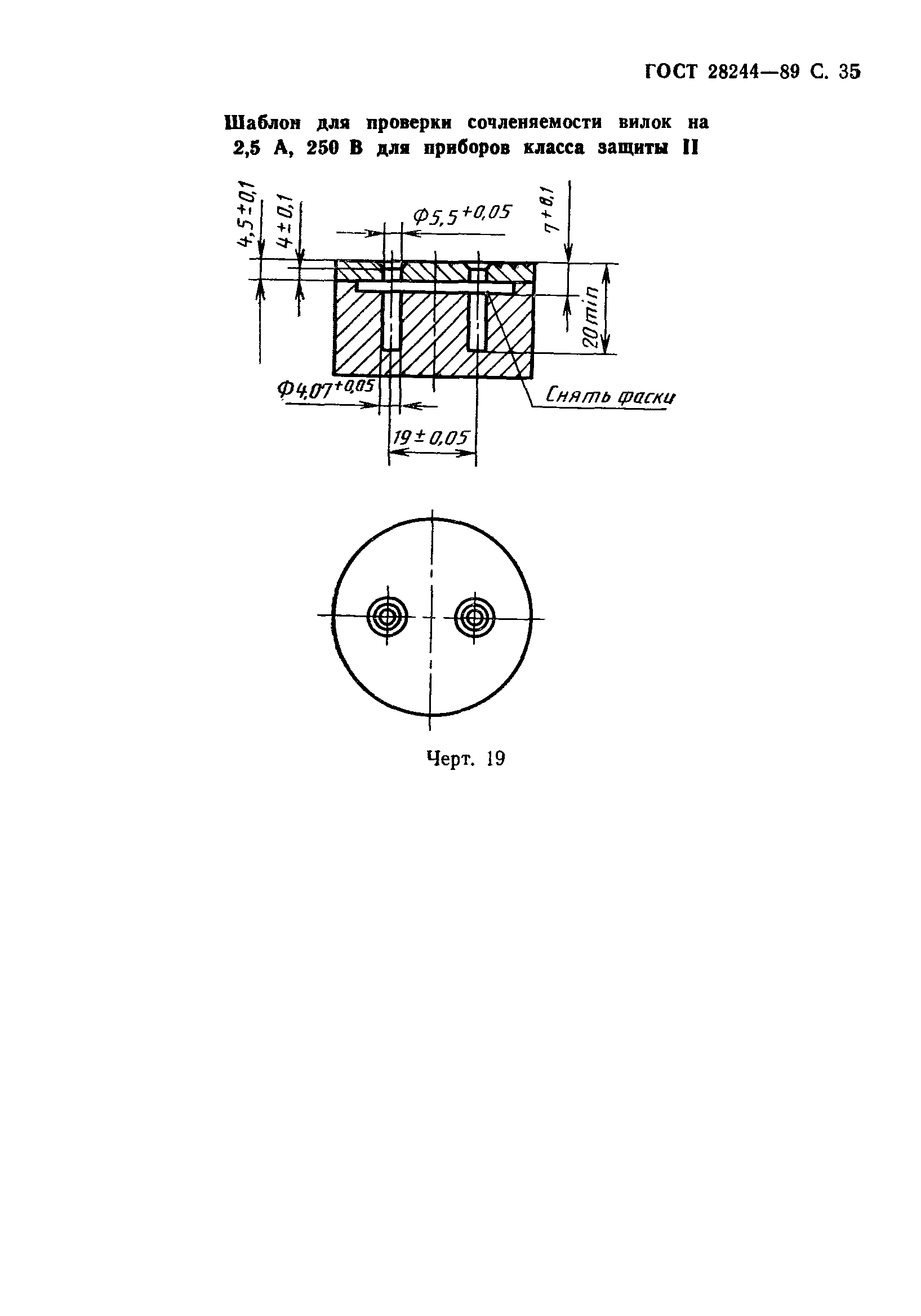
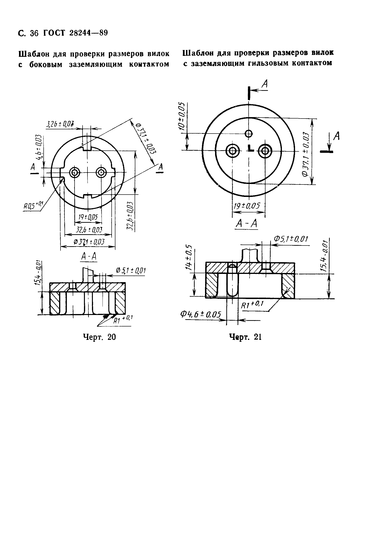
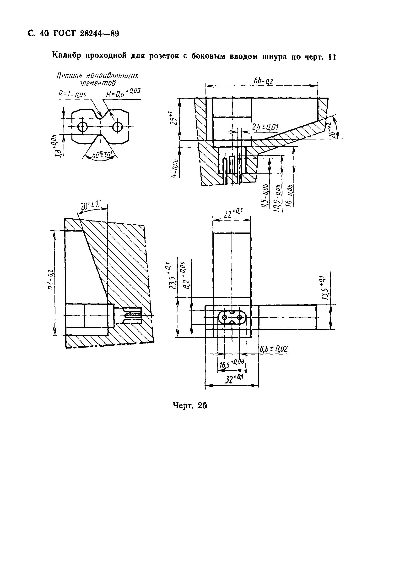
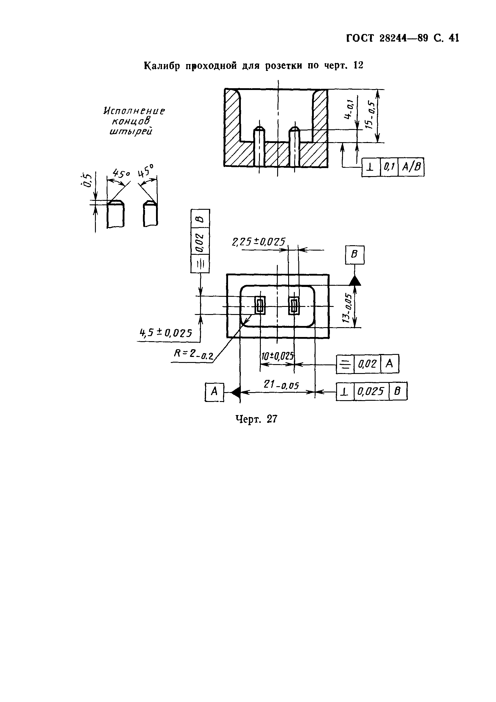
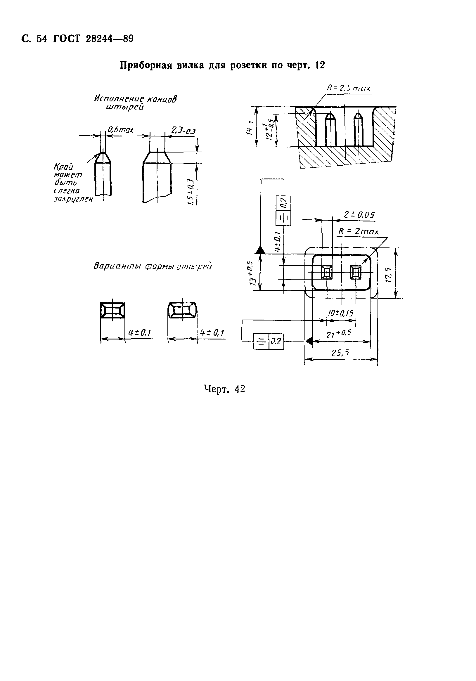
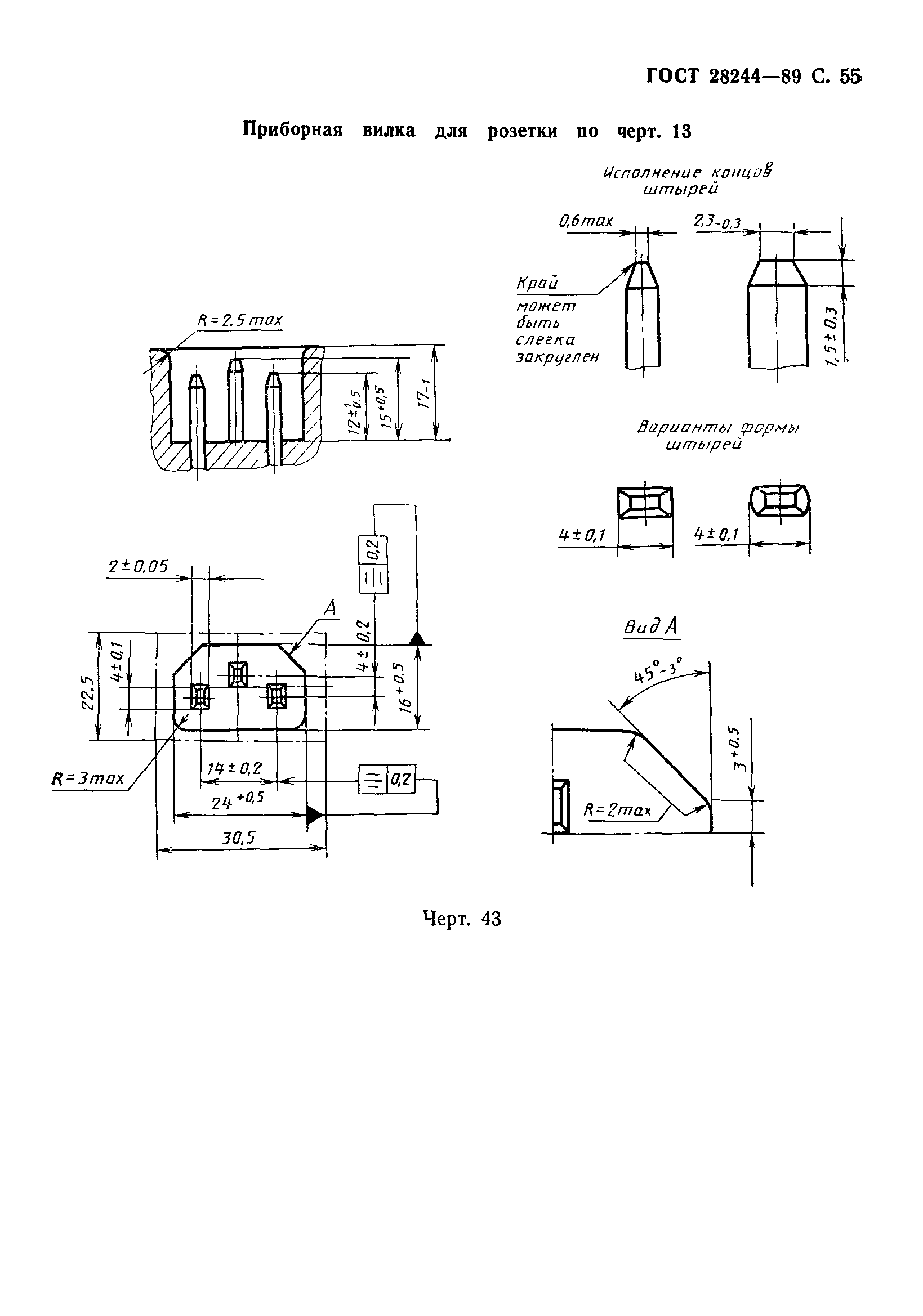
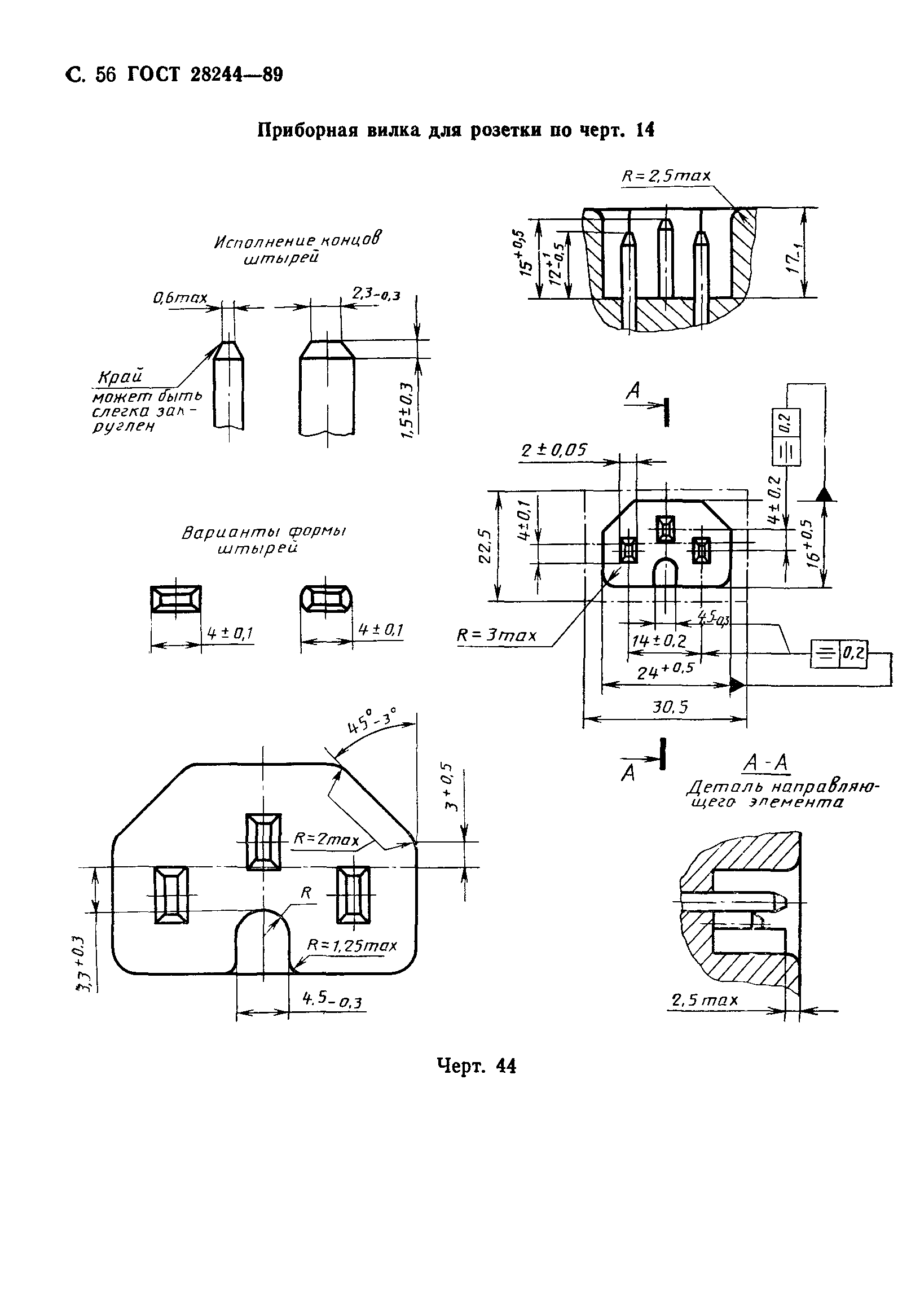
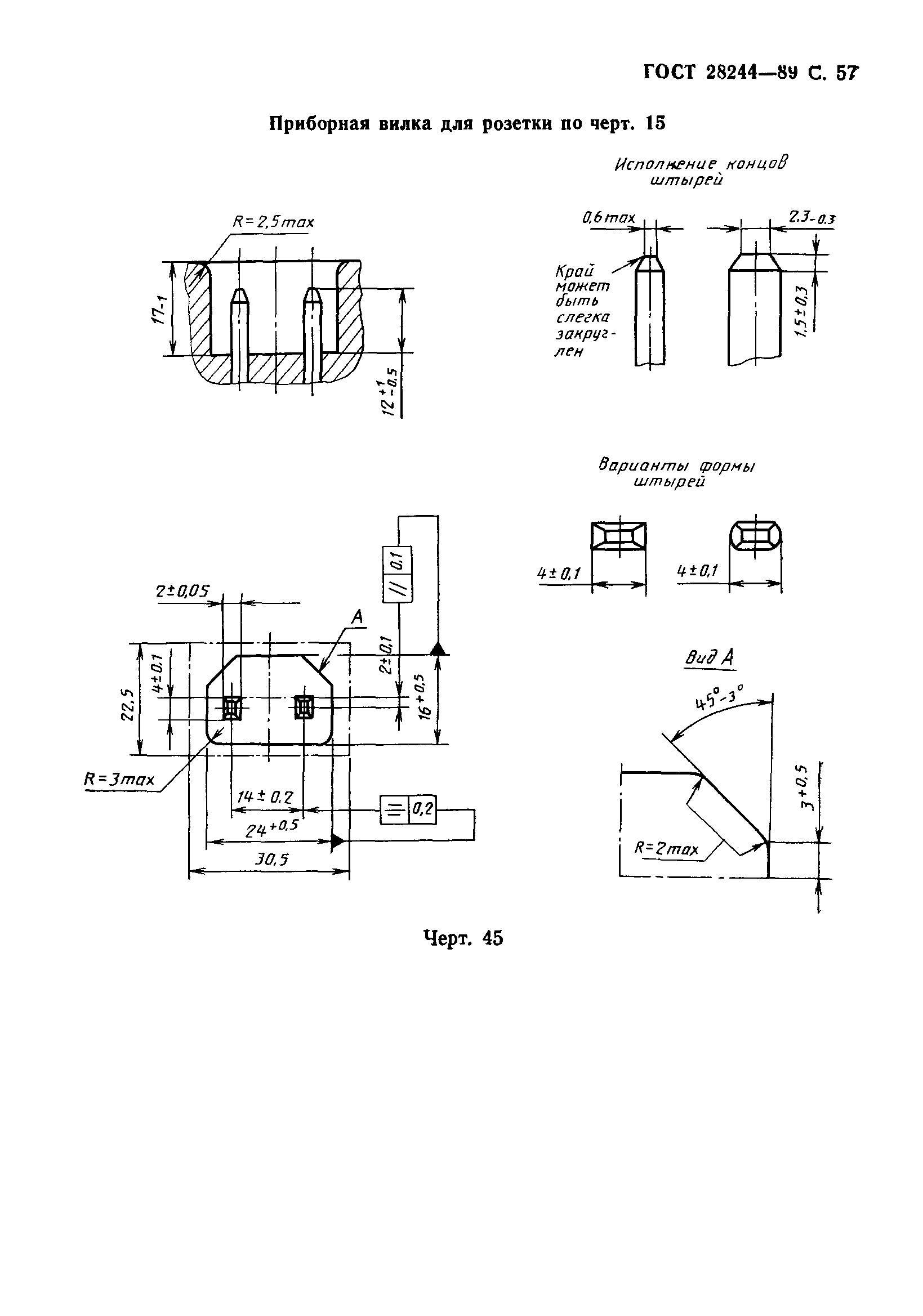
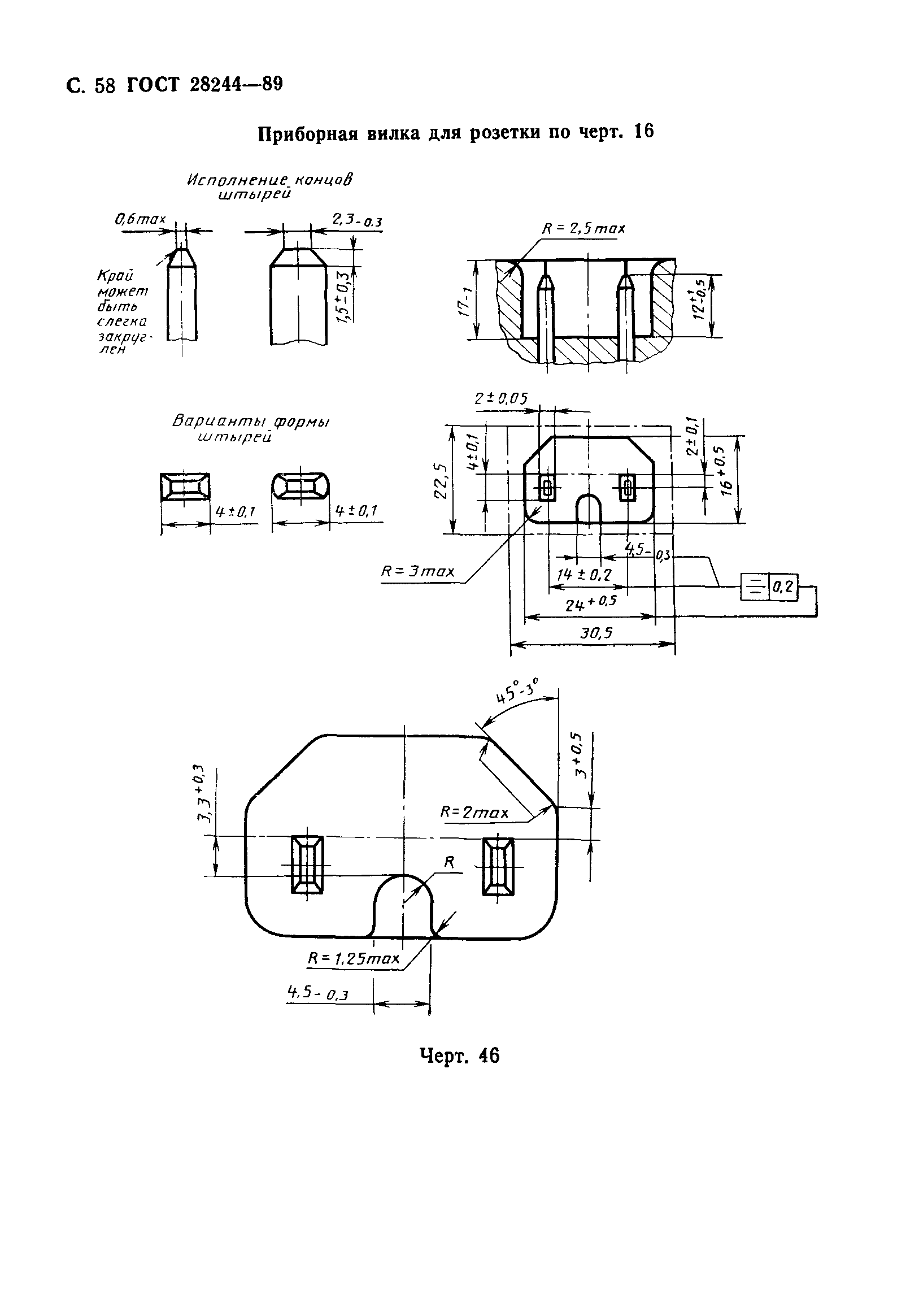
ГОСТ 28244-89 Провода и шнуры армированные. Технические условия
ГОСТ
Скачать ГОСТ в PDF или DOC бесплатно
Основная информация
Обозначение:
ГОСТ 28244-89
Статус:
Заменен
Тип:
ГОСТ
Название русское:
Провода и шнуры армированные. Технические условия
Название английское:
Reinforced wires and cords. Specifications
Даты и сроки
Дата издания:
02-05-90
Дата введения в действие:
01-01-91
Дата завершения срока действия:
01-01-98
Связи и замены
Заменяющий:
ГОСТ 28244-96
Описание стандарта
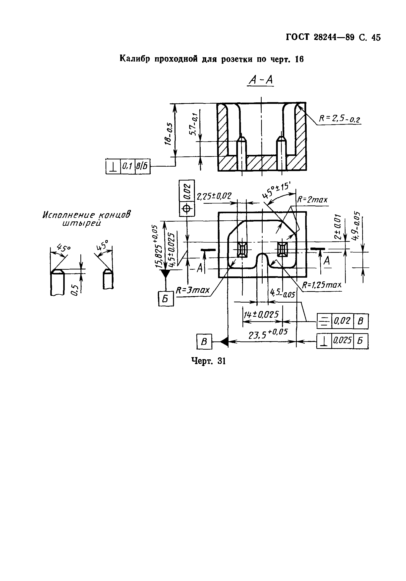
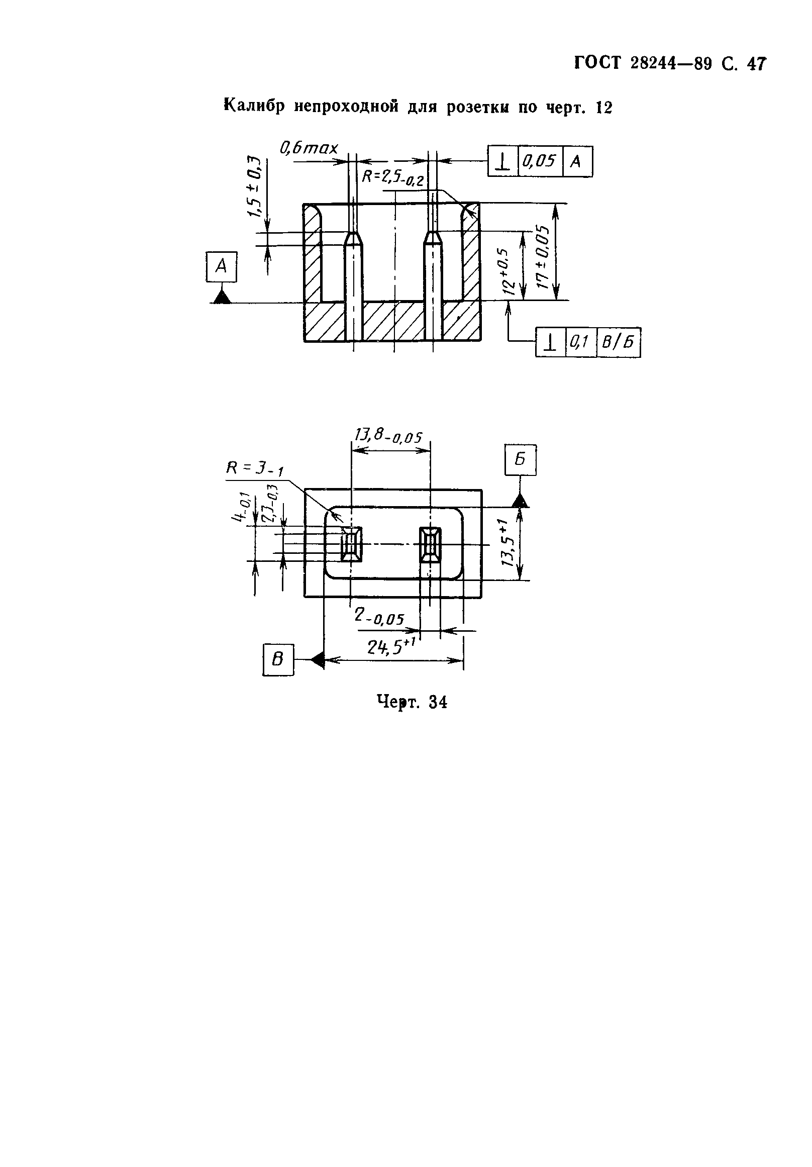
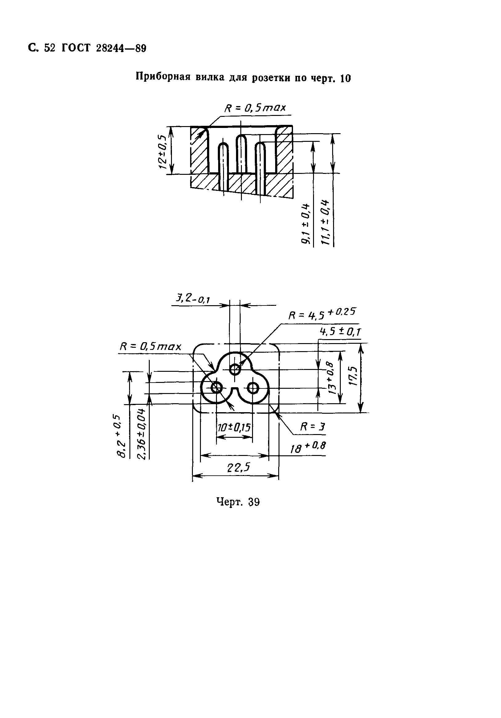
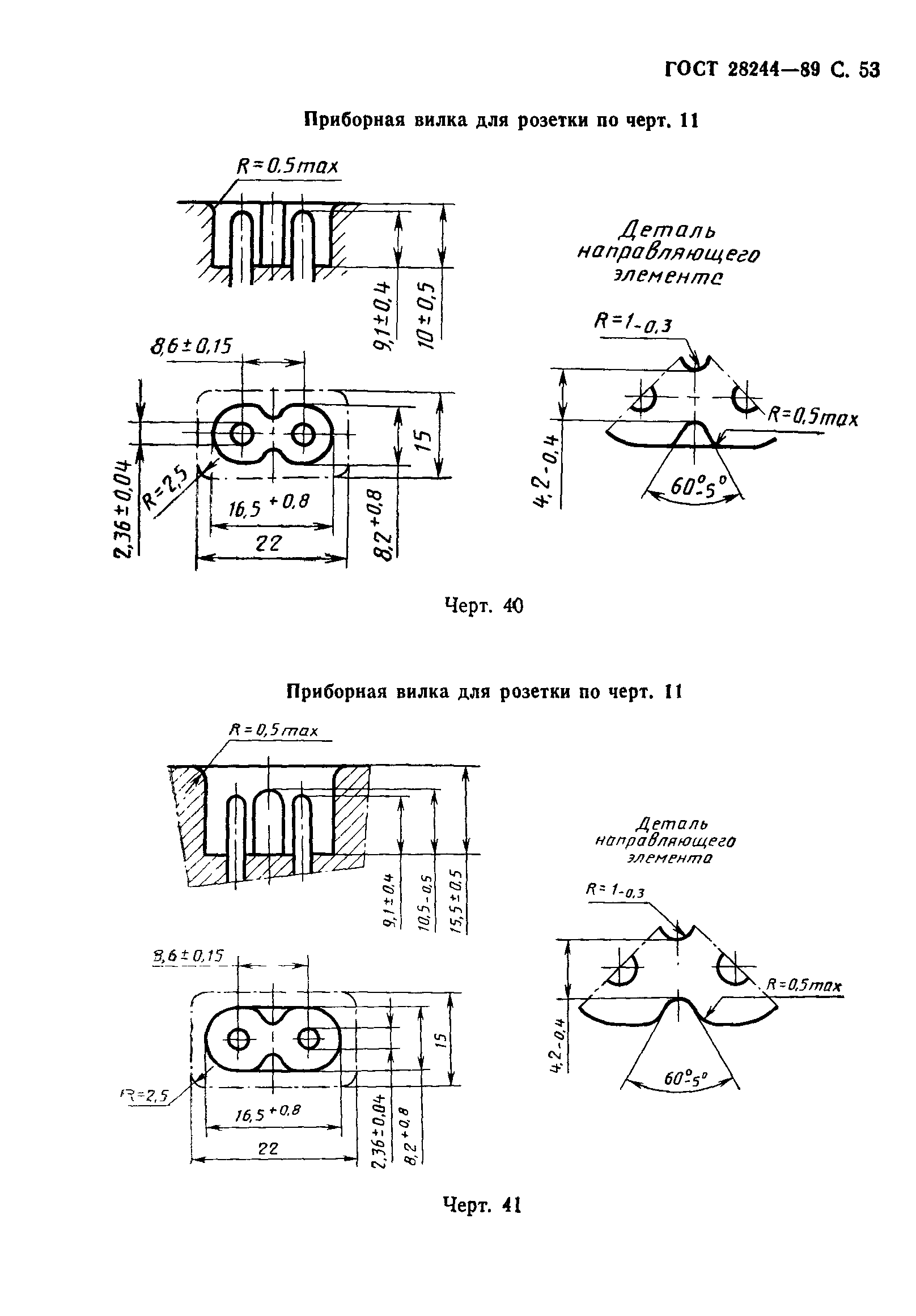
ГОСТ 28244-89 Провода и шнуры армированные. Технические условия
Страницы стандарта























































































