ГОСТ 33667-2015 Автомобильные транспортные средства. Наконечники проводов к выводам аккумуляторных батарей и стартеров. Технические требования и методы испытаний
ГОСТ
Скачать ГОСТ в PDF или DOC бесплатно
Основная информация
Обозначение:
ГОСТ 33667-2015
Статус:
Действует
Тип:
ГОСТ
Название русское:
Автомобильные транспортные средства. Наконечники проводов к выводам аккумуляторных батарей и стартеров. Технические требования и методы испытаний
Название английское:
Motor vehicles. Wire tips to the battery and the starter. Technical requirements and test methods
Даты и сроки
Дата регистрации:
12-10-15
Дата издания:
07-13-16
Дата введения в действие:
04-01-17
Дата завершения срока действия:
-
Применение и описание
Область и условия применения:
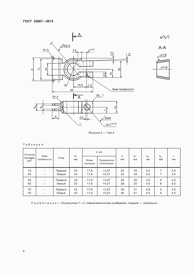
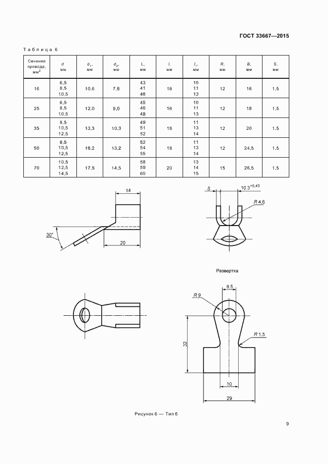
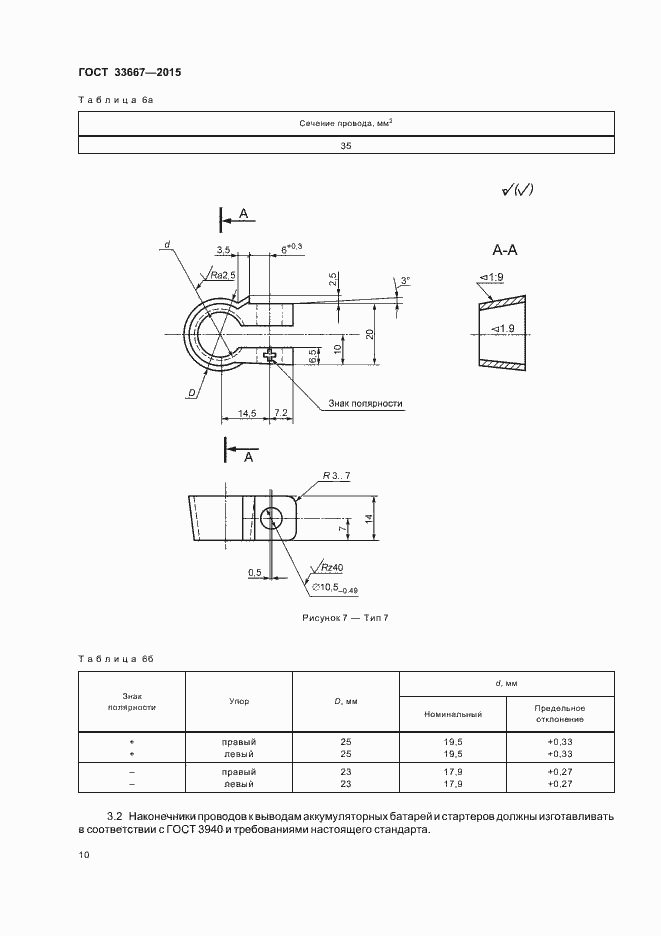
Настоящий стандарт распространяется на наконечники автотракторных проводов к выводам аккумуляторных батарей и стартеров
Связи и замены
Заменяющий:
-
Описание стандарта
ГОСТ 33667-2015 Автомобильные транспортные средства. Наконечники проводов к выводам аккумуляторных батарей и стартеров. Технические требования и методы испытаний
Страницы стандарта















