ГОСТ 33709.3-2015 Краны грузоподъемные. Словарь. Часть 3. Краны башенные
ГОСТ
Скачать ГОСТ в PDF или DOC бесплатно
Основная информация
Обозначение:
ГОСТ 33709.3-2015
Статус:
Действует
Тип:
ГОСТ
Название русское:
Краны грузоподъемные. Словарь. Часть 3. Краны башенные
Название английское:
Cranes. Vocabulary. Part 3. Tower cranes
Даты и сроки
Дата регистрации:
12-28-15
Дата издания:
07-12-16
Дата введения в действие:
04-01-17
Дата завершения срока действия:
-
Применение и описание
Область и условия применения:
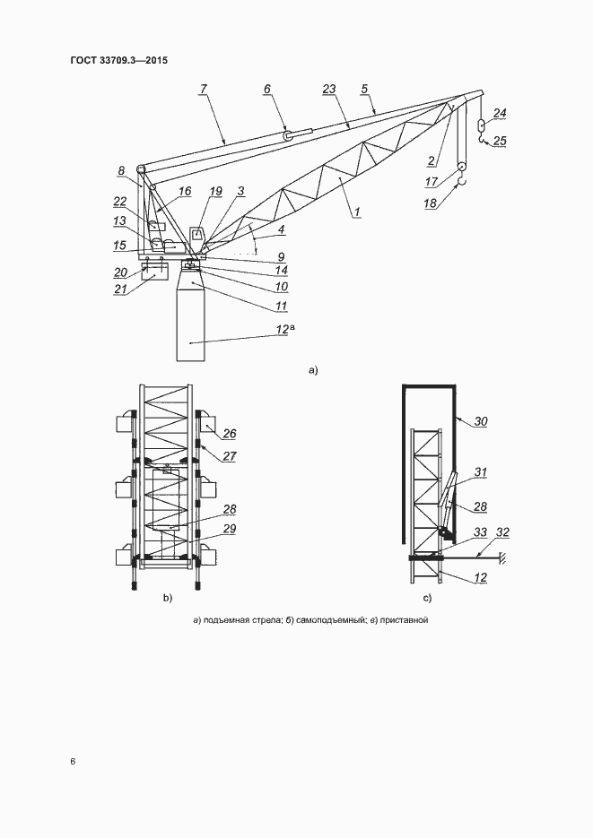
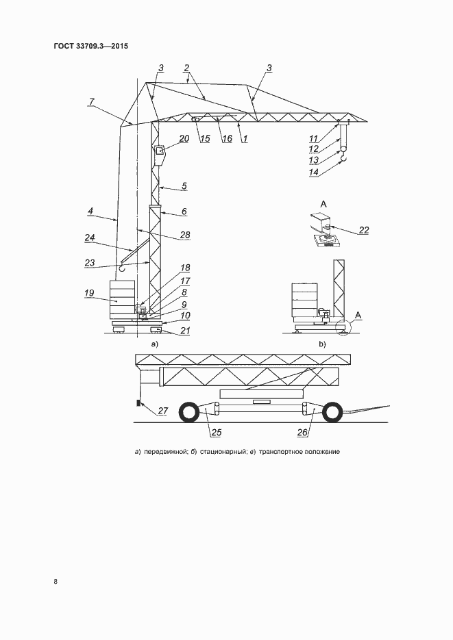
Настоящий стандарт устанавливает термины и определения в области краностроения применительно к башенным кранам. Настоящий стандарт уcтaнaвливaeт oбщee oпpeдeлeниe бaшeннoгo кpaнa и иллюстрирует тepминoлoгию для paзличныx типoв бaшeнныx кpaнoв посредством рисунков, на которых даны ссылки на соответствующий термин
Связи и замены
Заменяющий:
-
Описание стандарта
ГОСТ 33709.3-2015 Краны грузоподъемные. Словарь. Часть 3. Краны башенные
Страницы стандарта


















