ГОСТ 34075-2017 Башмаки и чеки тормозных колодок железнодорожного подвижного состава. Общие технические условия
ГОСТ
Скачать ГОСТ в PDF или DOC бесплатно
Основная информация
Обозначение:
ГОСТ 34075-2017
Статус:
Действует
Тип:
ГОСТ
Название русское:
Башмаки и чеки тормозных колодок железнодорожного подвижного состава. Общие технические условия
Название английское:
Brake block holder and key for railway rolling stock. General specifications
Даты и сроки
Дата регистрации:
03-30-17
Дата издания:
09-30-19
Дата введения в действие:
01-01-18
Дата завершения срока действия:
-
Применение и описание
Область и условия применения:
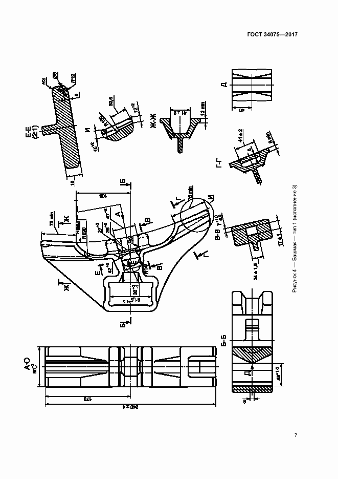
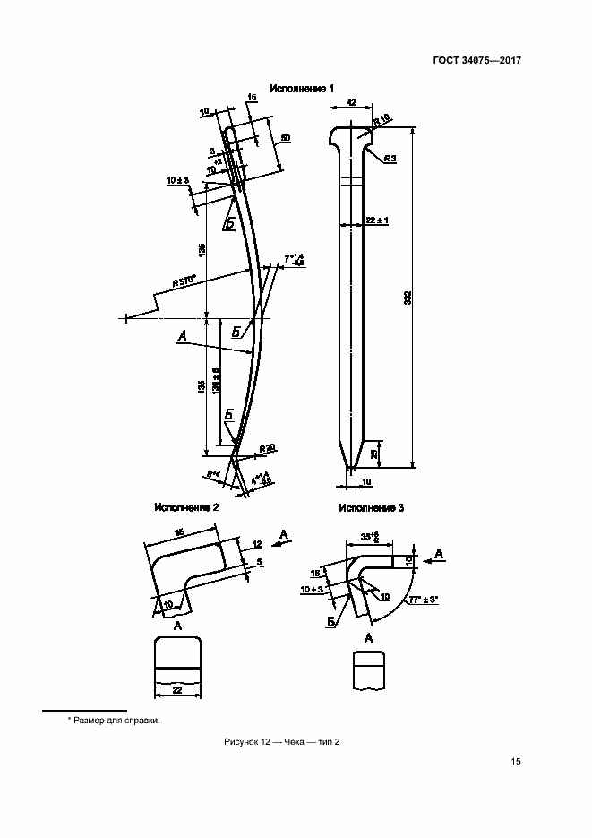
Настоящий стандарт распространяется на башмаки и чеки тормозных колодок (далее - башмаки, чеки и колодки соответственно) для локомотивов, грузовых вагонов, пассажирских вагонов локомотивной тяги, моторвагонного (далее - МВПС) и специального самоходного и несамоходного подвижного состава (далее - СПС) и устанавливает общие технические условия к ним
Связи и замены
Заменяющий:
-
Описание стандарта
ГОСТ 34075-2017 Башмаки и чеки тормозных колодок железнодорожного подвижного состава. Общие технические условия
Страницы стандарта































Приложение №1: Поправка к ГОСТ 34075-2017 Обозначение: Поправка к ГОСТ 34075-2017 Дата введения в действие: 19.02.2019
