ГОСТ 34443-2018 Мобильные подъемники с рабочими платформами. Расчеты конструкции, требования безопасности, методы испытаний
ГОСТ
Скачать ГОСТ в PDF или DOC бесплатно
Основная информация
Обозначение:
ГОСТ 34443-2018
Статус:
Действует
Тип:
ГОСТ
Название русское:
Мобильные подъемники с рабочими платформами. Расчеты конструкции, требования безопасности, методы испытаний
Название английское:
Mobile lifts with working platforms. Construction calculations, safety requirements, test methods
Даты и сроки
Дата регистрации:
08-30-18
Дата издания:
11-13-18
Дата введения в действие:
07-01-19
Дата завершения срока действия:
-
Применение и описание
Область и условия применения:
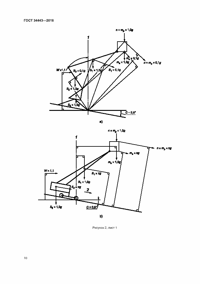
Настоящий стандарт устанавливает требования, обеспечивающие единство проектирования, расчетов и испытания всех типов мобильных подъемников с рабочими платформами для обеспечения их безопасного применения. Настоящий стандарт применяется при конструкторских расчетах металлоконструкций, определении критериев устойчивости, испытаниях и проверках безопасности перед вводом в эксплуатацию МПРП. Стандарт определяет опасности, возникающие при эксплуатации МПРП, и описывает методы их устранения или снижения
Связи и замены
Заменяющий:
-
Описание стандарта
ГОСТ 34443-2018 Мобильные подъемники с рабочими платформами. Расчеты конструкции, требования безопасности, методы испытаний
Страницы стандарта























































































Приложение №1: Поправка к ГОСТ 34443-2018 Обозначение: Поправка к ГОСТ 34443-2018 Дата введения в действие: 19.02.2019

Приложение №2: Поправка к ГОСТ 34443-2018 Обозначение: Поправка к ГОСТ 34443-2018 Дата введения в действие: 15.03.2021
