ГОСТ Р ИСО 8637-99 Гемодиализаторы, гемофильтры и гемоконцентраторы. Технические требования и методы испытаний
ГОСТ Р ИСО
Скачать ГОСТ в PDF или DOC бесплатно
Основная информация
Обозначение:
ГОСТ Р ИСО 8637-99
Статус:
Отменен
Тип:
ГОСТ Р ИСО
Название русское:
Гемодиализаторы, гемофильтры и гемоконцентраторы. Технические требования и методы испытаний
Название английское:
Haemodialysers, haemofilters and haemoconcentrators. Technical requirements and test methods
Даты и сроки
Дата издания:
08-14-00
Дата введения в действие:
01-01-01
Дата завершения срока действия:
01-01-15
Применение и описание
Область и условия применения:
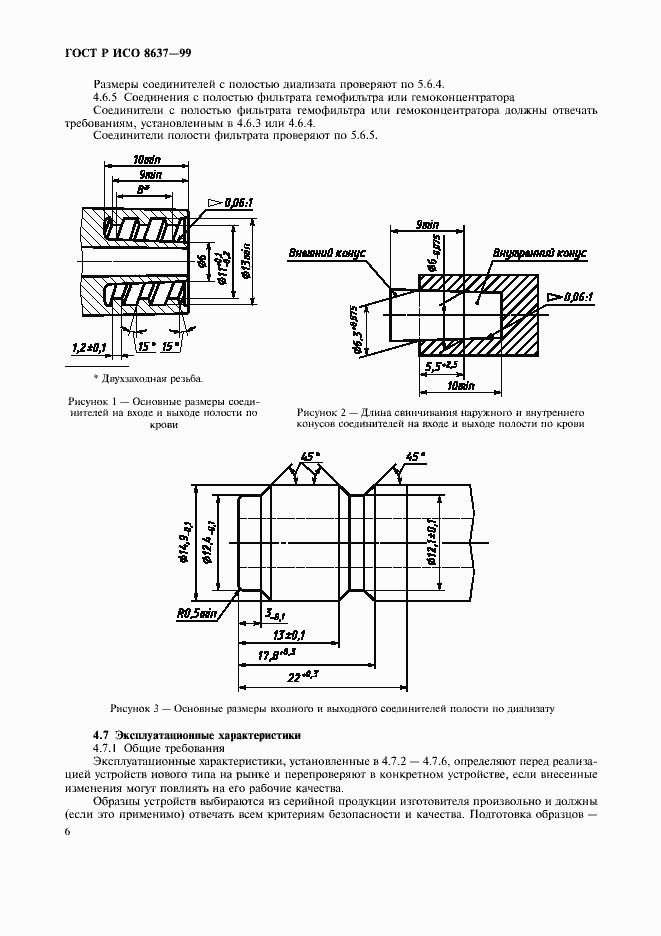
Настоящий стандарт устанавливает требования к катушечным, пластинчатым и капиллярным гемодиализаторам, а также гемофильтрам и гемоконцентраторам, предназначенным для однократного применения. Настоящий стандарт не устанавливает параметры конструкционных материалов, методы испытания на биосовместимость, оценку стерильности, апирогенность и отдельные эксплуатационные характеристики устройств. Настоящий стандарт не распространяется на устройства, собранные и стерилизованные пользователем, кровопроводящие магистрали, плазмофильтры, устройства сосудистого доступа, гемоперфузионные устройства, перфузионные насосы, мониторы измерения давления и контроля воздушных включений в магистралях, гемодиализные и гемофильтрационные аппараты, а также аппараты для гемоконцентрации
Связи и замены
Заменяющий:
-
Изменения и переиздания
Список изменений:
№0 от (рег. ) «Текстовое изменение; Изменено заглавие»
Описание стандарта
ГОСТ Р ИСО 8637-99 Гемодиализаторы, гемофильтры и гемоконцентраторы. Технические требования и методы испытаний
Страницы стандарта



















