ГОСТ 35011-2023 Газ природный сжиженный. Руководство по отбору проб
ГОСТ
Скачать ГОСТ в PDF или DOC бесплатно
Основная информация
Обозначение:
ГОСТ 35011-2023
Статус:
Действует
Тип:
ГОСТ
Название русское:
Газ природный сжиженный. Руководство по отбору проб
Название английское:
Liquefied natural gas. Sampling guidelines
Даты и сроки
Дата регистрации:
09-25-23
Дата издания:
11-15-23
Дата введения в действие:
01-01-25
Дата завершения срока действия:
-
Применение и описание
Область и условия применения:
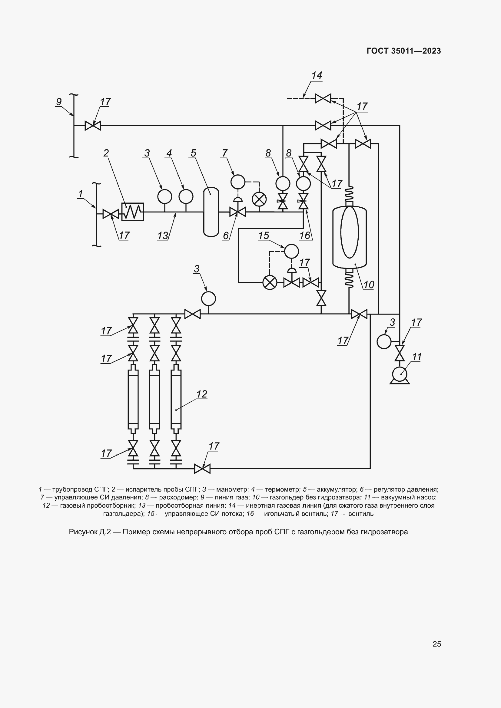
Настоящий стандарт распространяется на сжиженный природный газ (СПГ), поступающий с установок сжижения, а также поставляемый для дальнейшего хранения, транспортирования и использования. Настоящий стандарт устанавливает требования к процедурам, оборудованию и материалам для отбора проб СПГ, обеспечивающие представительность отобранных проб количеству СПГ, на которое они распространяются
Связи и замены
Заменяющий:
-
Описание стандарта
ГОСТ 35011-2023 Газ природный сжиженный. Руководство по отбору проб
Страницы стандарта









































Приложение №1: Поправка к ГОСТ 35011-2023 Обозначение: Поправка к ГОСТ 35011-2023 Дата введения в действие: 15.04.2024
