ГОСТ 5.1861-73 Пневмораспределители трехлинейные В76-21, БВ76-21, ИВ76-21, КВ76-21, МВ76-21, ОВ76-21, ГВ76-21, ДВ76-21. Требования к качеству аттестованной продукции
ГОСТ
Скачать ГОСТ в PDF или DOC бесплатно
Основная информация
Обозначение:
ГОСТ 5.1861-73
Статус:
Действует
Тип:
ГОСТ
Название русское:
Пневмораспределители трехлинейные В76-21, БВ76-21, ИВ76-21, КВ76-21, МВ76-21, ОВ76-21, ГВ76-21, ДВ76-21. Требования к качеству аттестованной продукции
Название английское:
Pneumatic directional control valves with 3 ports В76-21, БВ76-21, ИВ76-21, КВ76-21, МВ76-21, ОВ76-21, ГВ76-21, ДВ76-21. Quality requirements of certified products
Даты и сроки
Дата издания:
04-23-73
Дата введения в действие:
03-01-73
Дата завершения срока действия:
-
Применение и описание
Область и условия применения:
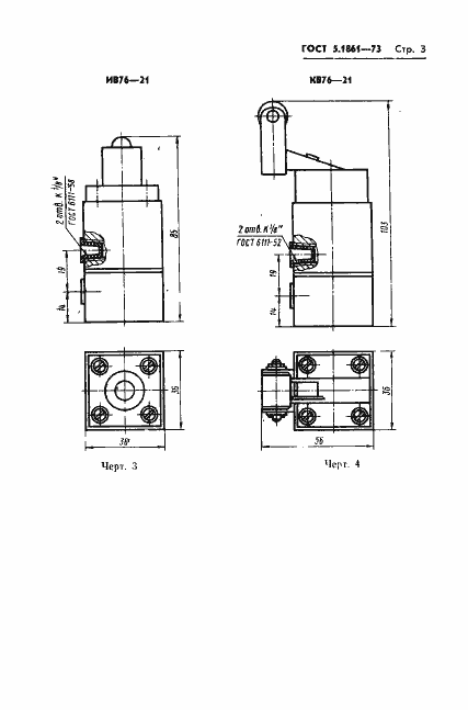
Настоящий стандарт распространяется на трехлинейные пневмораспределители В76-21, БВ76-21, ИВ76-21, КВ76-21, МВ76-21, ОВ76-21, ГВ76-21, ДВ76-21 на номинальное давление 10 кгс/см.кв. (1МПа) с условным проходом 4 мм, предназначенные для изменения направления потоков сжатого воздуха в пневматических системах, работающих в окружающей среде с относительной влажностью 80% и температурой от 5 до 50 град.С
Связи и замены
Заменяющий:
-
Описание стандарта
ГОСТ 5.1861-73 Пневмораспределители трехлинейные В76-21, БВ76-21, ИВ76-21, КВ76-21, МВ76-21, ОВ76-21, ГВ76-21, ДВ76-21. Требования к качеству аттестованной продукции
Страницы стандарта
















