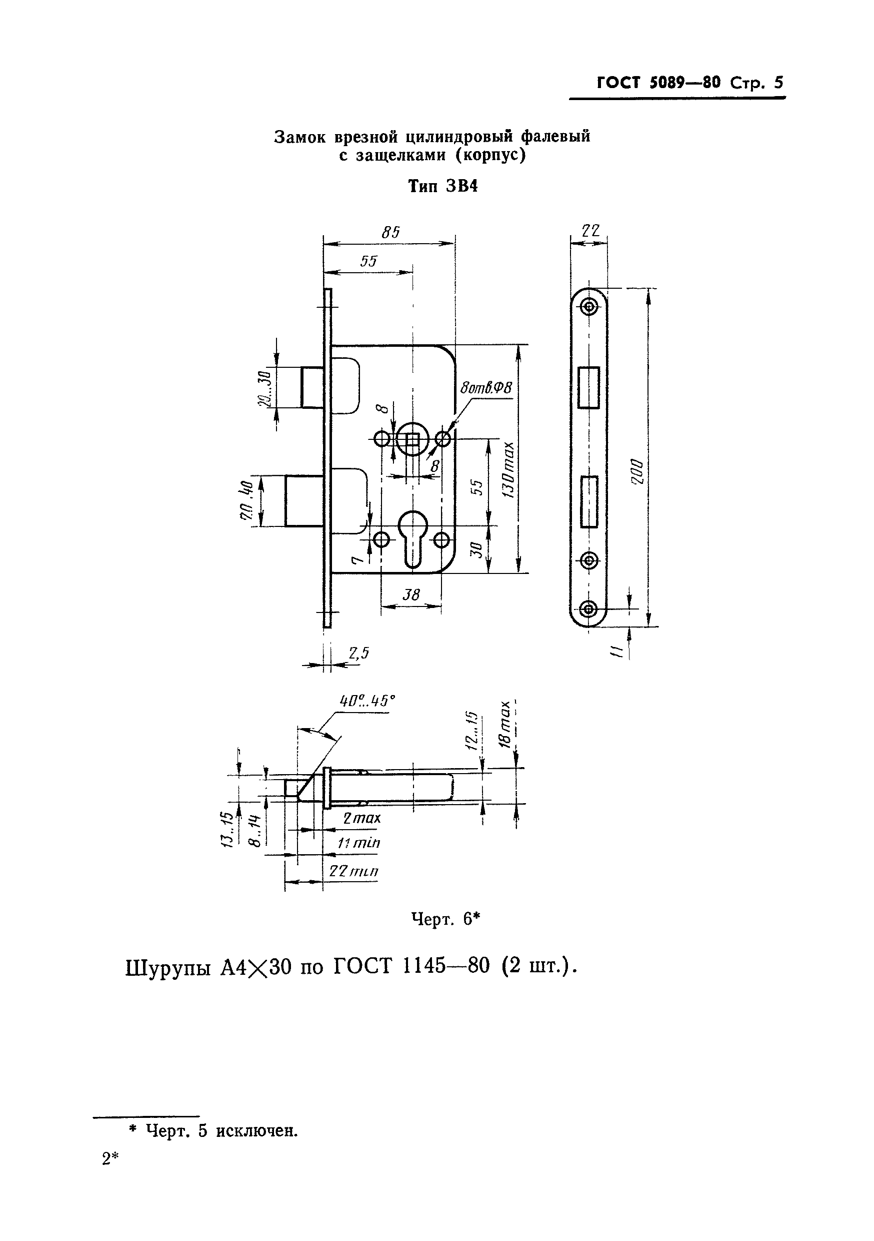
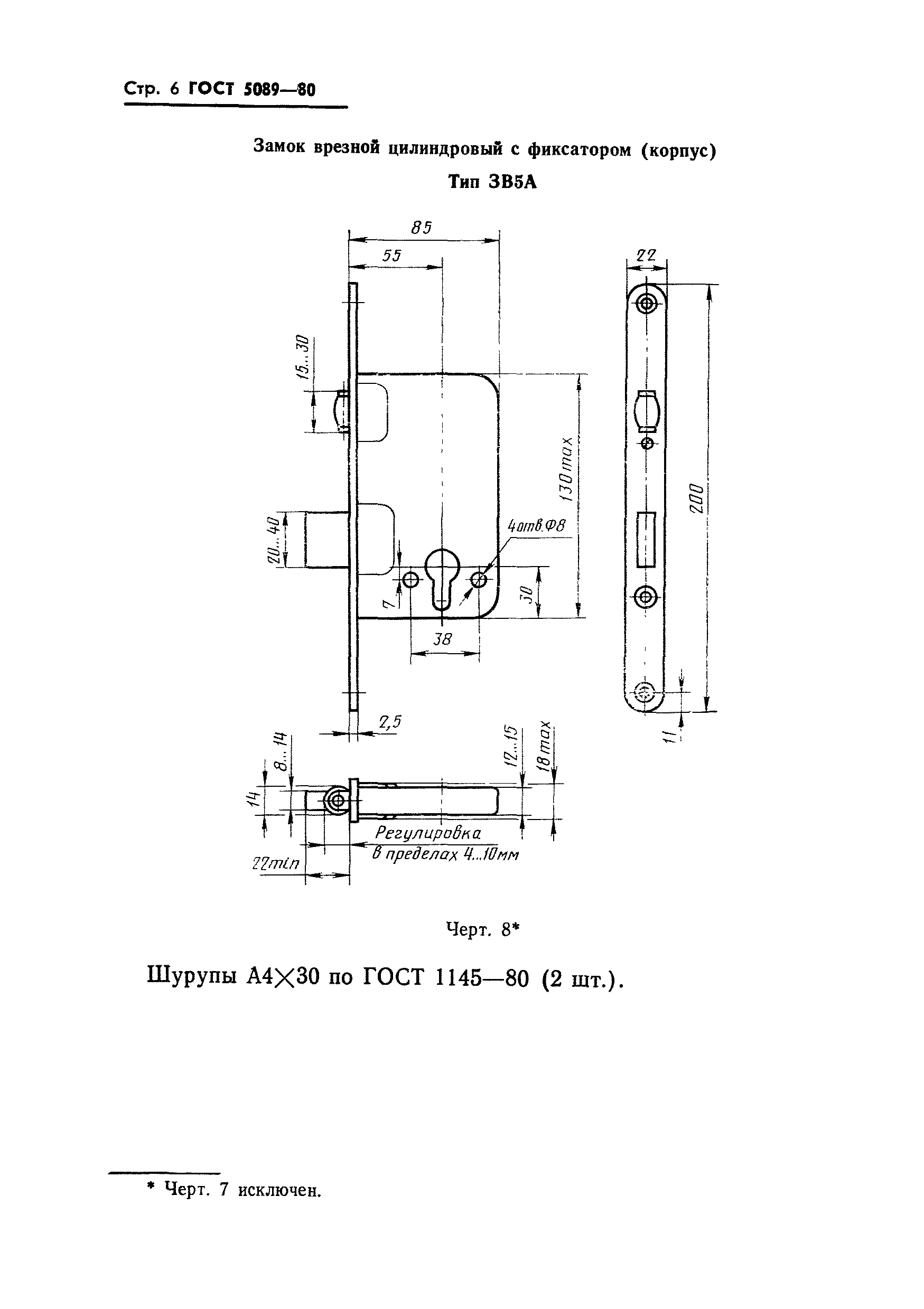
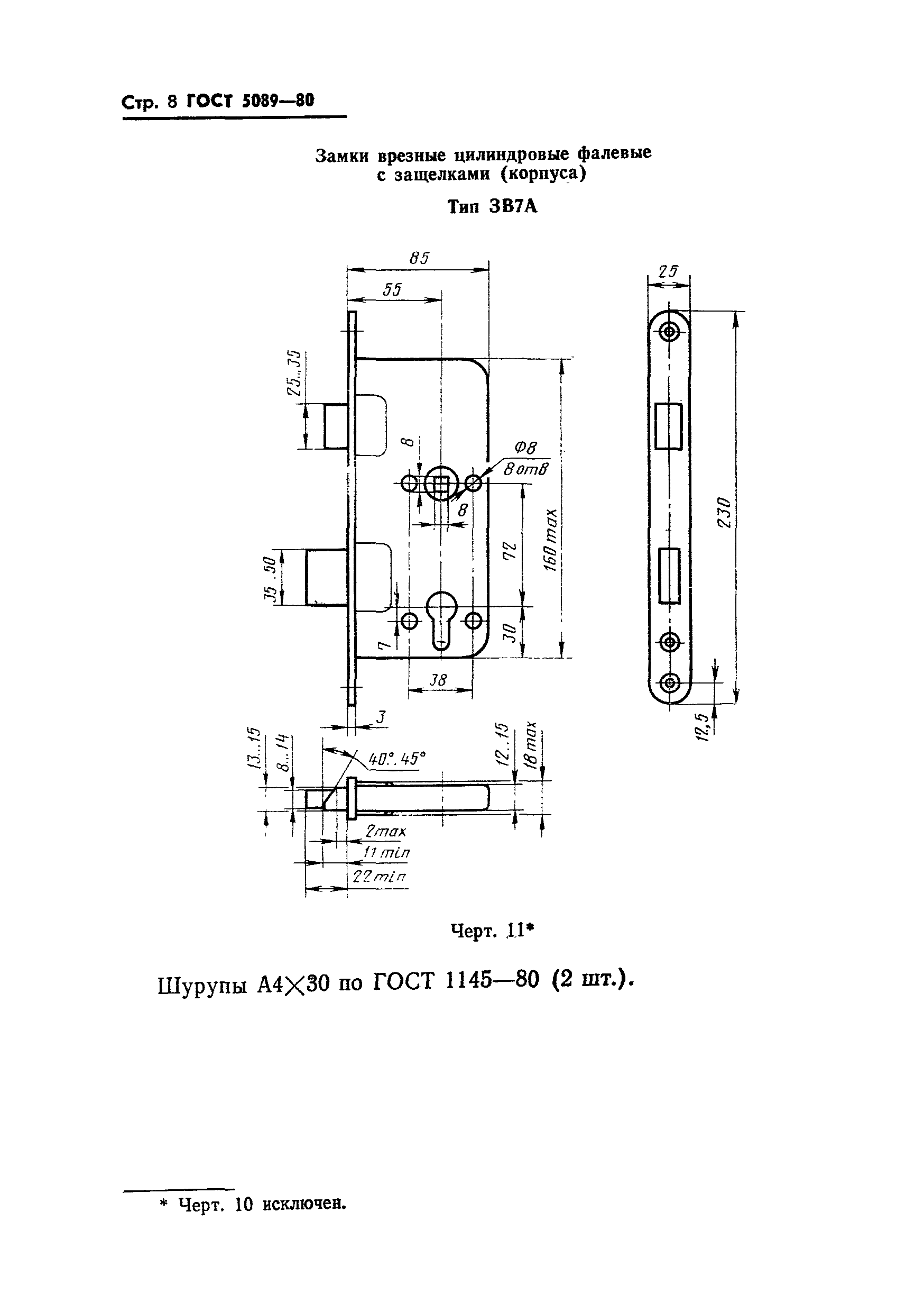
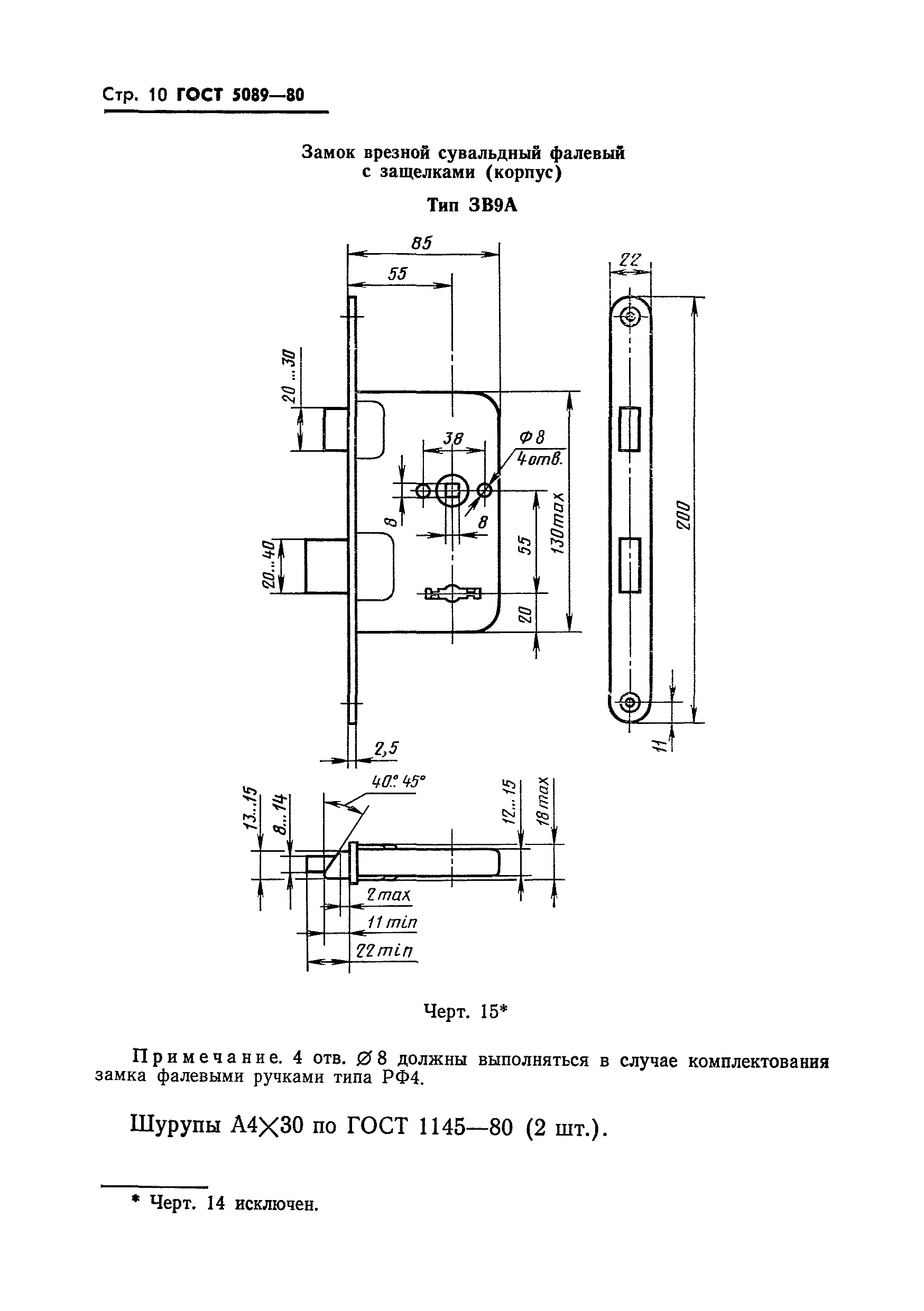
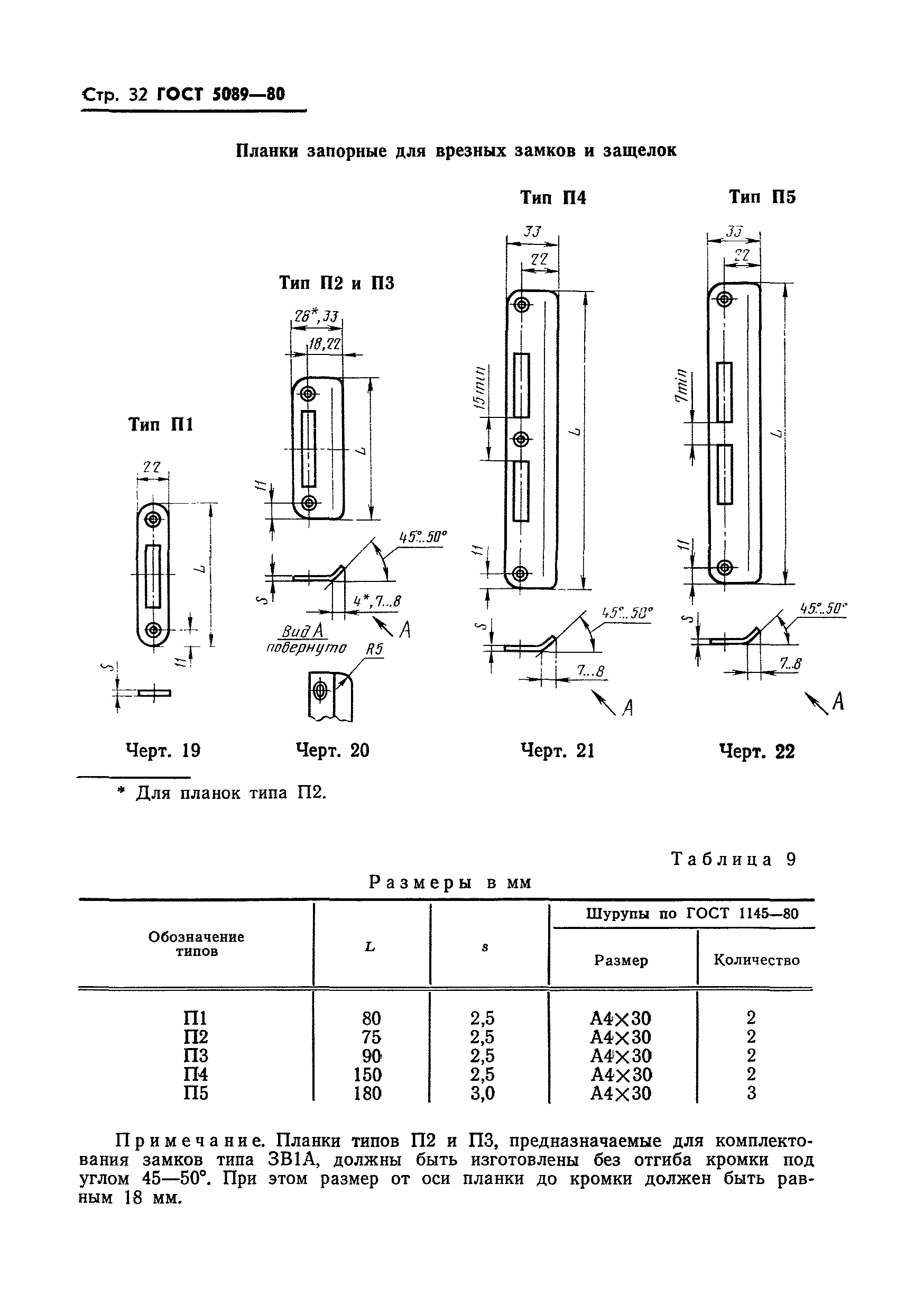
ГОСТ 5089-80 Замки и защелки для дверей. Типы и основные размеры
ГОСТ
Основная информация
Обозначение:
ГОСТ 5089-80
Статус:
утратил силу в РФ
Тип:
ГОСТ
Название русское:
Замки и защелки для дверей. Типы и основные размеры
Даты и сроки
Дата введения в действие:
01-01-81
Описание стандарта
ГОСТ 5089-80 Замки и защелки для дверей. Типы и основные размеры
Страницы стандарта












































