ГОСТ 6628-73 Крюки двурогие. Заготовки. Типы. Конструкция и размеры
ГОСТ
Скачать ГОСТ в PDF или DOC бесплатно
Основная информация
Обозначение:
ГОСТ 6628-73
Статус:
Заменен
Тип:
ГОСТ
Название русское:
Крюки двурогие. Заготовки. Типы. Конструкция и размеры
Название английское:
Ramshorn hooks. Blanks. Type. Construction and dimensions
Даты и сроки
Дата издания:
06-01-88
Дата введения в действие:
01-01-75
Дата завершения срока действия:
06-01-21
Применение и описание
Область и условия применения:
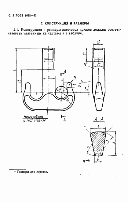
Настоящий стандарт распространяется на заготовки двурогих кованых и штампованных крюков с цилиндрическим хвостовиком, применяемых в грузоподъемных машинах
Связи и замены
Заменяющий:
ГОСТ 34680-2020
Взамен:
ГОСТ 6628-63
Изменения и переиздания
Список изменений:
№1 от (рег. ) «Срок действия продлен»
Описание стандарта
ГОСТ 6628-73 Крюки двурогие. Заготовки. Типы. Конструкция и размеры
Страницы стандарта







