ГОСТ 7286-81 Рейсшины деревянные. Технические условия
ГОСТ
Скачать ГОСТ в PDF или DOC бесплатно
Основная информация
Обозначение:
ГОСТ 7286-81
Статус:
Действует
Тип:
ГОСТ
Название русское:
Рейсшины деревянные. Технические условия
Название английское:
Wooden T-squares. Specifications
Даты и сроки
Дата издания:
10-01-98
Дата введения в действие:
06-30-82
Дата завершения срока действия:
-
Применение и описание
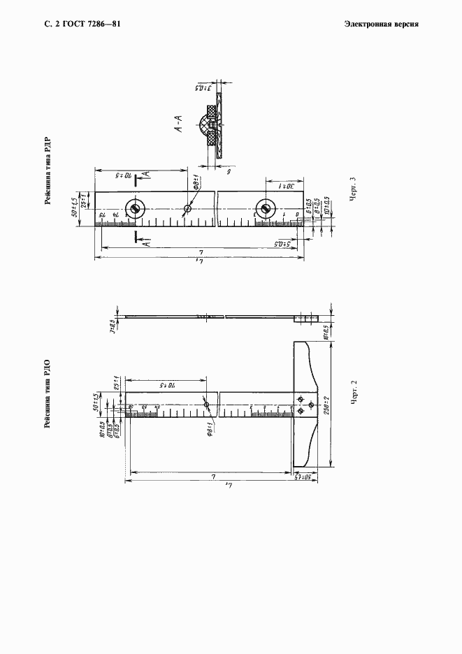
Область и условия применения:
Настоящий стандарт распространяется на деревянные рейсшины, предназначенные для выполнения чертежно-графических работ
Связи и замены
Заменяющий:
-
Взамен:
ГОСТ 7286-68
Изменения и переиздания
Список изменений:
№1 от (рег. ) «Срок действия продлен» №2 от (рег. ) «Срок действия продлен»
Описание стандарта
ГОСТ 7286-81 Рейсшины деревянные. Технические условия
Страницы стандарта







