ГОСТ 7396.0-89 Соединители электрические штепсельные бытового и аналогичного назначения. Общие технические условия
ГОСТ
Скачать ГОСТ в PDF или DOC бесплатно
Основная информация
Обозначение:
ГОСТ 7396.0-89
Статус:
Утратил силу в РФ
Тип:
ГОСТ
Название русское:
Соединители электрические штепсельные бытового и аналогичного назначения. Общие технические условия
Название английское:
Plugs and socket-outlets for household and similar purposes. General specifications
Даты и сроки
Дата издания:
03-07-90
Дата введения в действие:
01-01-91
Дата завершения срока действия:
07-01-02
Применение и описание
Область и условия применения:
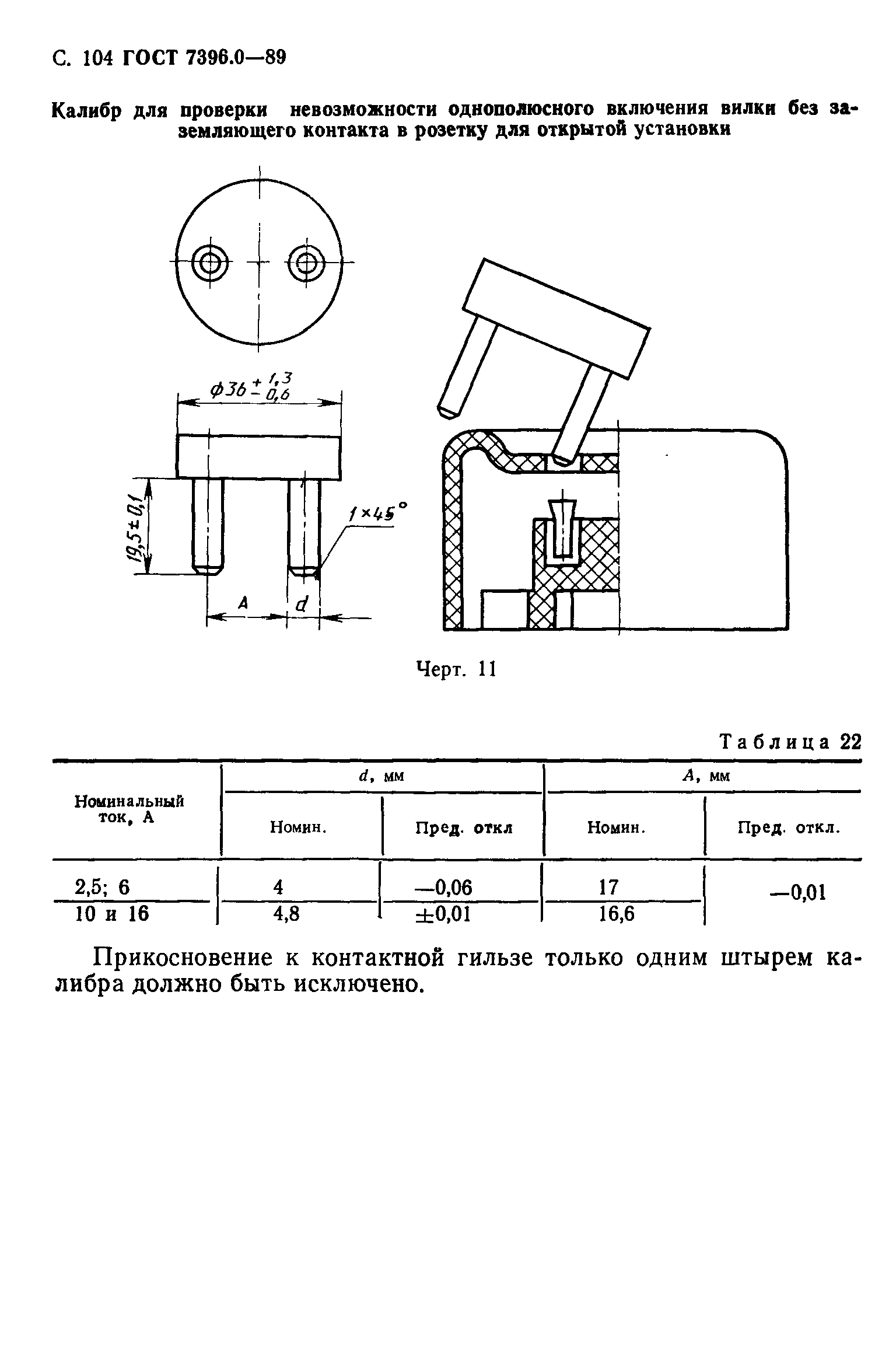
Настоящий стандарт распространяется на вилки и розетки как стационарные, так и переносные, бытового и аналогичного назначения, предназначенные для присоединения электрических приемников с номинальным напряжением св. 50 В, но не выше 440 в и номинальными токами не более 32 А к электрической сети переменного при внутренней и наружной установки в зданиях. Стандарт распространяется также на разветвители
Связи и замены
Заменяющий:
-
Взамен:
ГОСТ 7396-85
Изменения и переиздания
Список изменений:
№0 от (рег. ) «Поправка к изменению» №0 от (рег. ) «Поправка к изменению» №0 от (рег. ) «Восстановлен на территории РФ» №1 от (рег. ) «Срок действия продлен»
Описание стандарта
ГОСТ 7396.0-89 Соединители электрические штепсельные бытового и аналогичного назначения. Общие технические условия
Страницы стандарта


































































































































