ГОСТ 8.448-85 Государственная система обеспечения единства измерений. Преобразователи калориметрические измерительные первичные. Методика поверки
ГОСТ
Скачать ГОСТ в PDF или DOC бесплатно
Основная информация
Обозначение:
ГОСТ 8.448-85
Статус:
Утратил силу в РФ
Тип:
ГОСТ
Название русское:
Государственная система обеспечения единства измерений. Преобразователи калориметрические измерительные первичные. Методика поверки
Название английское:
State system for ensuring the uniformity of measurements. The calorimetric measuring primary transducers. Method of verification
Даты и сроки
Дата издания:
12-26-85
Дата введения в действие:
01-01-87
Дата завершения срока действия:
01-01-09
Применение и описание
Область и условия применения:
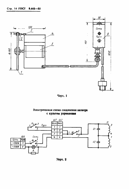
Настоящий стандарт распространяется на первичные измерительные калориметрические преобразователи типов ТПИ-2 - 5, ТПИ-2 - 7, ТПИ-2М и приемные элементы типа ЭП-50-01 и устанавливает методику их первичной и периодической поверок
Связи и замены
Заменяющий:
-
Взамен:
ГОСТ 8.448-81
Изменения и переиздания
Список изменений:
№0 от (рег. ) «Поправка к изменению»
Описание стандарта
ГОСТ 8.448-85 Государственная система обеспечения единства измерений. Преобразователи калориметрические измерительные первичные. Методика поверки
Страницы стандарта






















