ГОСТ Р 50267.25-94 Изделия медицинские электрические. Часть 2. Частные требования безопасности к электрокардиографам
ГОСТ Р
Скачать ГОСТ в PDF или DOC бесплатно
Основная информация
Обозначение:
ГОСТ Р 50267.25-94
Статус:
Действует
Тип:
ГОСТ Р
Название русское:
Изделия медицинские электрические. Часть 2. Частные требования безопасности к электрокардиографам
Название английское:
Medical electrical equipment. Part 2. Particular requirements for safety of electrocardiographs
Даты и сроки
Дата издания:
06-08-94
Дата введения в действие:
06-30-95
Дата завершения срока действия:
-
Применение и описание
Область и условия применения:
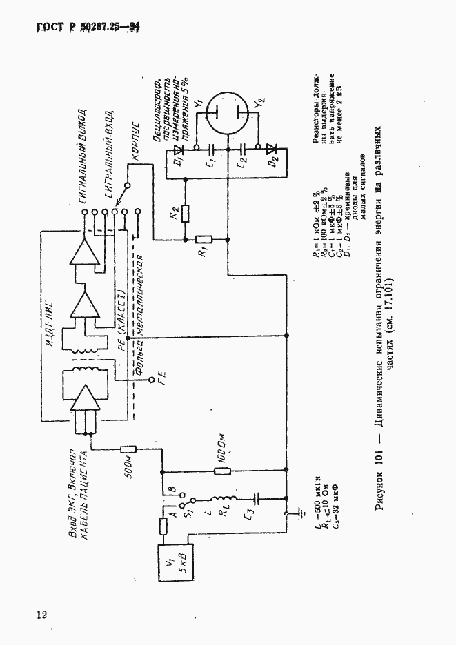
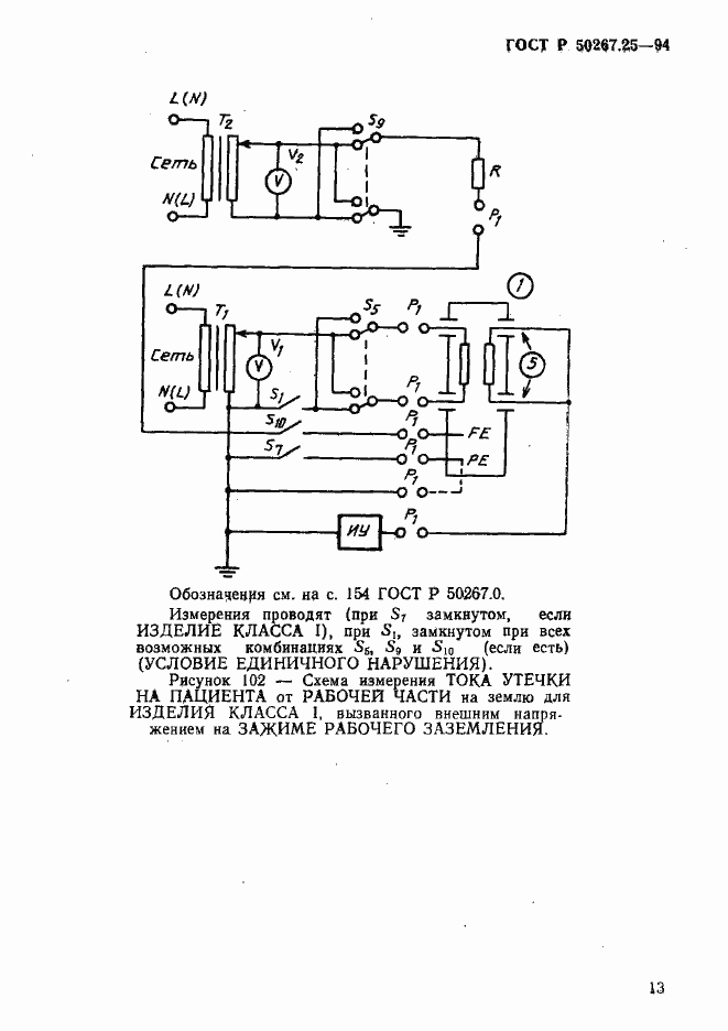
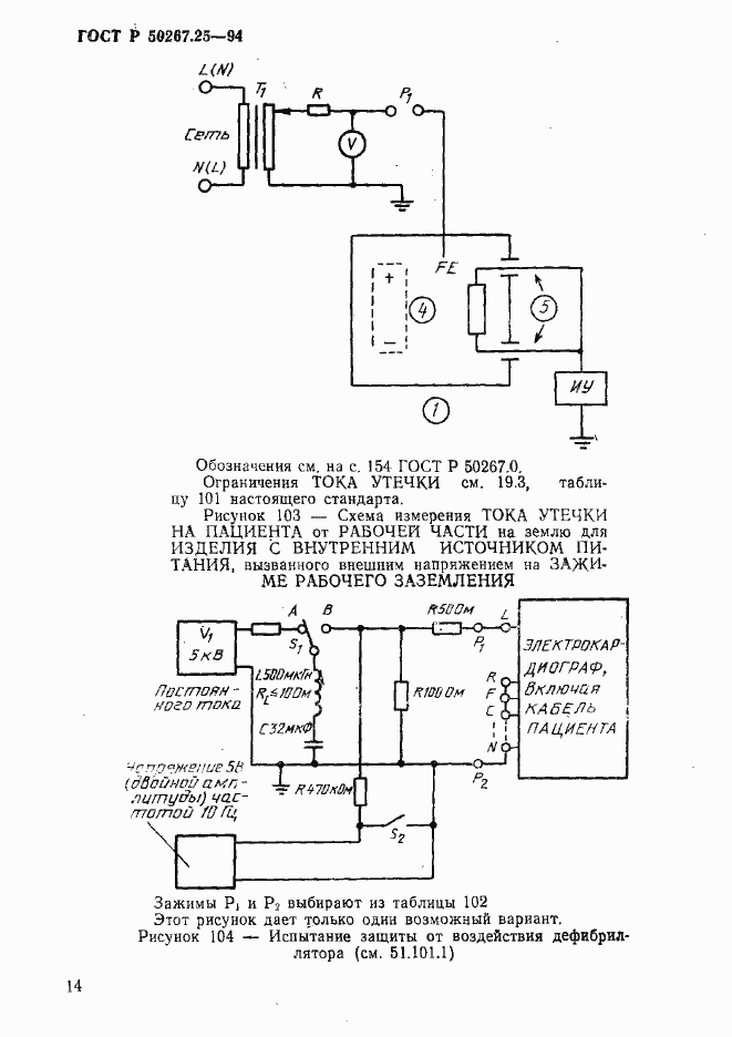
Настоящий стандарт распространяется на безопасность МЕДИЦИНСКИХ ЭЛЕКТРИЧЕСКИХ ИЗДЕЛИЙ. Так как настоящий стандарт относится в основном к безопасности, он содержит некоторые требования, касающиеся надежной работы, если это связано с безопасностью. Настоящий стандарт устанавливает частные требования безопасности к ЭЛЕКТРОКАРДИОГРАФАМ, предназначенным для снятия ЭЛЕКТРОКАРДИОГРАММ в диагностических целях. Он распространяется также на вектор-кардиографы и АППАРАТЫ, с помощью которых проводят исследования при стрессовых состояниях
Связи и замены
Заменяющий:
-
Описание стандарта
ГОСТ Р 50267.25-94 Изделия медицинские электрические. Часть 2. Частные требования безопасности к электрокардиографам
Страницы стандарта



























