ГОСТ Р 50267.27-95 Изделия медицинские электрические. Часть 2. Частные требования безопасности к электрокардиографическим мониторам
ГОСТ Р
Скачать ГОСТ в PDF или DOC бесплатно
Основная информация
Обозначение:
ГОСТ Р 50267.27-95
Статус:
Заменен
Тип:
ГОСТ Р
Название русское:
Изделия медицинские электрические. Часть 2. Частные требования безопасности к электрокардиографическим мониторам
Название английское:
Medical electrical equipment. Part 2. Particular requirements for safety of electrocardiographic monitoring equipment
Даты и сроки
Дата издания:
06-19-95
Дата введения в действие:
01-01-96
Дата завершения срока действия:
01-01-15
Применение и описание
Область и условия применения:
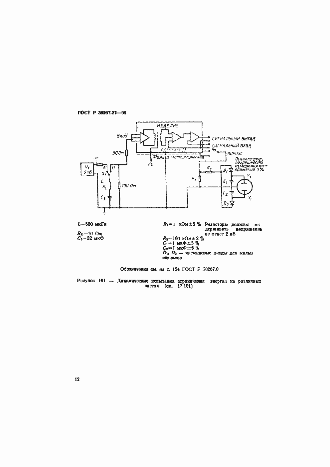
Настоящий стандарт распространяется на безопасность МЕДИЦИНСКИХ ЭЛЕКТРИЧЕСКИХ ИЗДЕЛИЙ. Так как настоящий стандарт относится в основном к безопасности, он содержит некоторые требования, касающиеся надежной работы, если это связано с безопасностью. Настоящий стандарт устанавливает частные требования к безопасности ЭЛЕКТРОКАРДИОГРАФИЧЕСКИХ МОНИТОРОВ. Мониторы для телеметрии, амбулаторные мониторы (холтеры) и другие записывающие приборы не входят в область распространения настоящего стандарта
Связи и замены
Заменяющий:
ГОСТ Р МЭК 60601-2-27-2013
Описание стандарта
ГОСТ Р 50267.27-95 Изделия медицинские электрические. Часть 2. Частные требования безопасности к электрокардиографическим мониторам
Страницы стандарта



























